Приказ Инспекции государственной охраны объектов культурного наследия Оренбургской области от 21.08.2023 № 01-08-460
"О внесении изменения в приказ инспекции от 09.08.2022 № 01-08-282"
"О внесении изменения в приказ инспекции от 09.08.2022 № 01-08-282"
Номер опубликования: 5601202308230001
Дата опубликования:
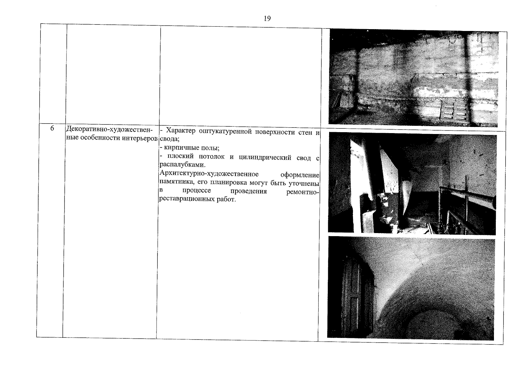
23.08.2023
