Официальное опубликование правовых актов
ОФИЦИАЛЬНОЕ ОПУБЛИКОВАНИЕ
Приказ Инспекции государственной охраны объектов культурного наследия Оренбургской области от 16.08.2023 № 01-08-439
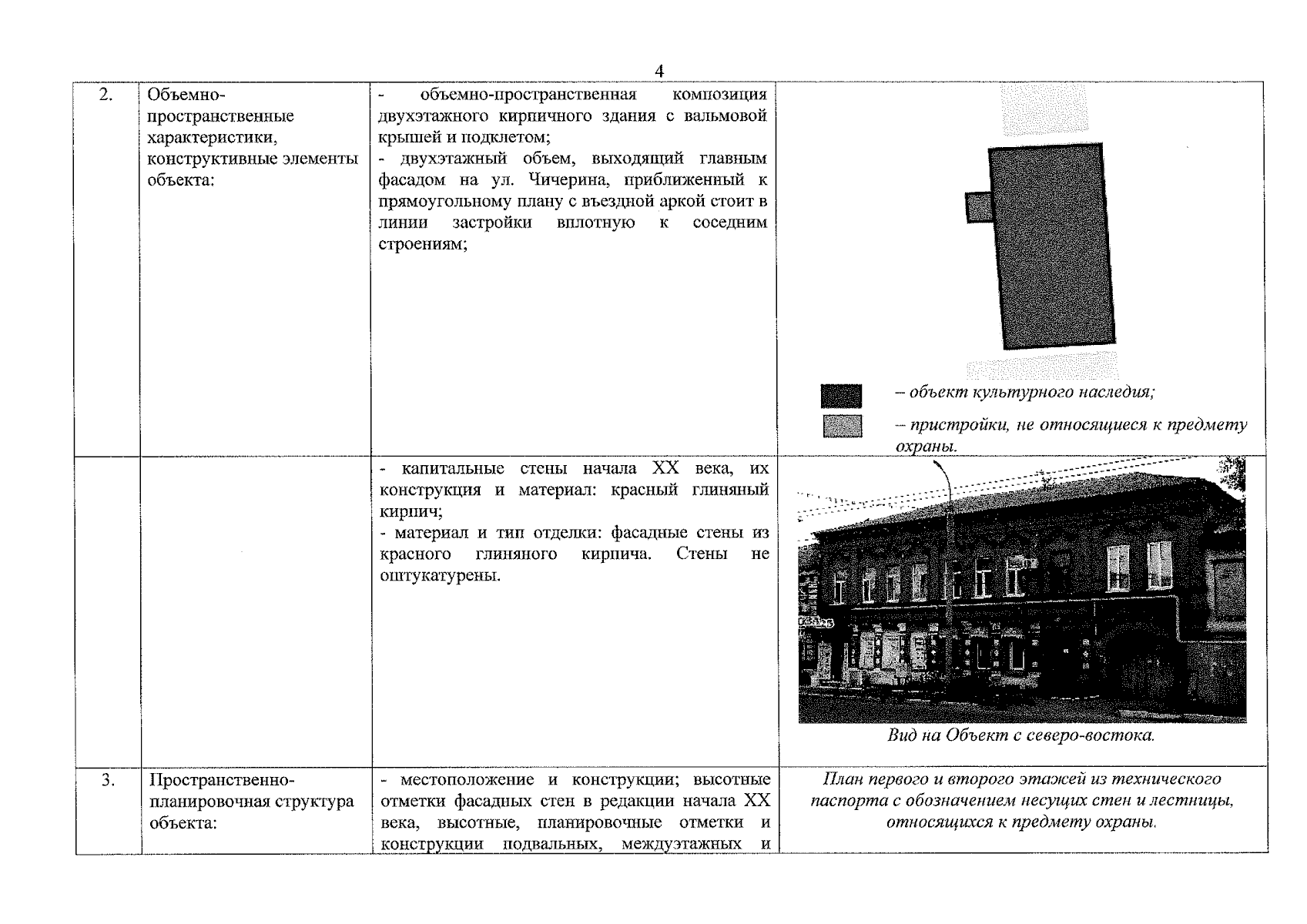
"О включении выявленного объекта культурного наследия в единый государственный реестр объектов культурного наследия (памятников истории и культуры) народов Российской Федерации в качестве объекта культурного наследия регионального значения (вид – памятник) "Дом жилой городской усадьбы Е.С. Ильиной", начало XX в., (Оренбургская область, г. Оренбург, ул. Чичерина, 29), об утверждении предметов охраны, границ и режима использования территории объекта культурного наследия"
Номер опубликования: 5601202308160010
Дата опубликования: 16.08.2023
Страница №4 из 15:
Увеличить