Официальное опубликование правовых актов
ОФИЦИАЛЬНОЕ ОПУБЛИКОВАНИЕ
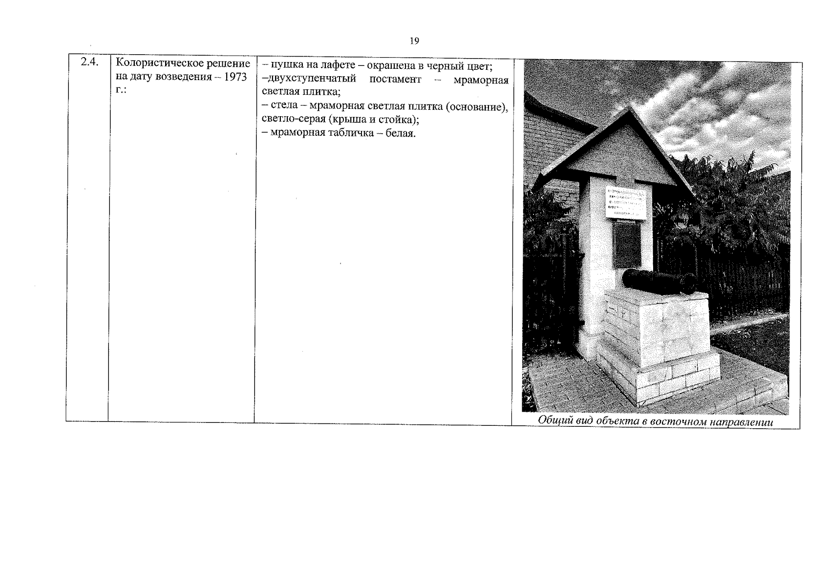
Приказ Инспекции государственной охраны объектов культурного наследия Оренбургской области от 09.08.2023 № 01-08-415
"Об утверждении предмета охраны объекта культурного наследия федерального значения (вид – памятник) "Памятное место, где в 1773 г. находилась ставка руководителя Крестьянской войны Емельяна Пугачева", 1773 г., (Оренбургская область, г. Оренбург, пос. Берды)"
(Зарегистрирован 09.08.2023 № 0262/2023/22)
Номер опубликования: 5601202308100010
Дата опубликования: 10.08.2023
Страница №19 из 19:
Увеличить