Официальное опубликование правовых актов
ОФИЦИАЛЬНОЕ ОПУБЛИКОВАНИЕ
Приказ Инспекции государственной охраны объектов культурного наследия Оренбургской области от 02.08.2023 № 01-08-360
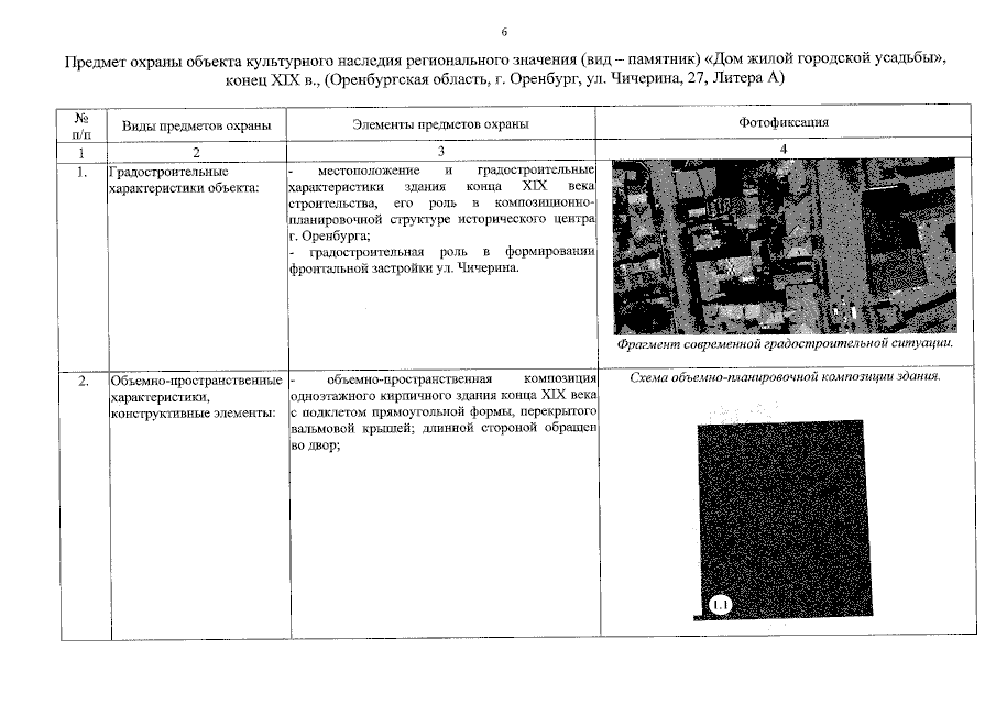
"О включении выявленного объекта культурного наследия в единый государственный реестр объектов культурного наследия (памятников истории и культуры) народов Российской Федерации в качестве объекта культурного наследия регионального значения (вид – ансамбль) "Городская усадьба Е.Ф. Ховрина", конец XIX – начало XX вв., (Оренбургская область, г. Оренбург, ул. Чичерина, 27), об утверждении предметов охраны, границ и режима использования территории объекта культурного наследия"
(Зарегистрирован 02.08.2023 № 0219/2023/22)
Номер опубликования: 5601202308040004
Дата опубликования: 04.08.2023
Страница №6 из 24:
Увеличить