Официальное опубликование правовых актов
ОФИЦИАЛЬНОЕ ОПУБЛИКОВАНИЕ
Приказ Инспекции государственной охраны объектов культурного наследия Оренбургской области от 02.08.2023 № 01-08-363
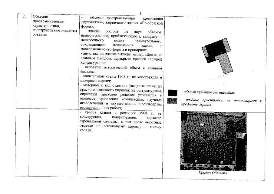
"О включении выявленного объекта культурного наследия в единый государственный реестр объектов культурного наследия (памятников истории и культуры) народов Российской Федерации в качестве объекта культурного наследия регионального значения (вид – памятник) "Дом жилой городской усадьбы", 1908 год, (Оренбургская область, г. Оренбург, пер. Шевченко, 7/1, Литера Б), об утверждении предметов охраны, границ и режима использования территории объекта культурного наследия"
(Зарегистрирован 02.08.2023 № 0222/2023/22)
Номер опубликования: 5601202308040001
Дата опубликования: 04.08.2023
Страница №4 из 20:
Увеличить