Официальное опубликование правовых актов
ОФИЦИАЛЬНОЕ ОПУБЛИКОВАНИЕ
Приказ Инспекции государственной охраны объектов культурного наследия Оренбургской области от 31.07.2023 № 01-08-342
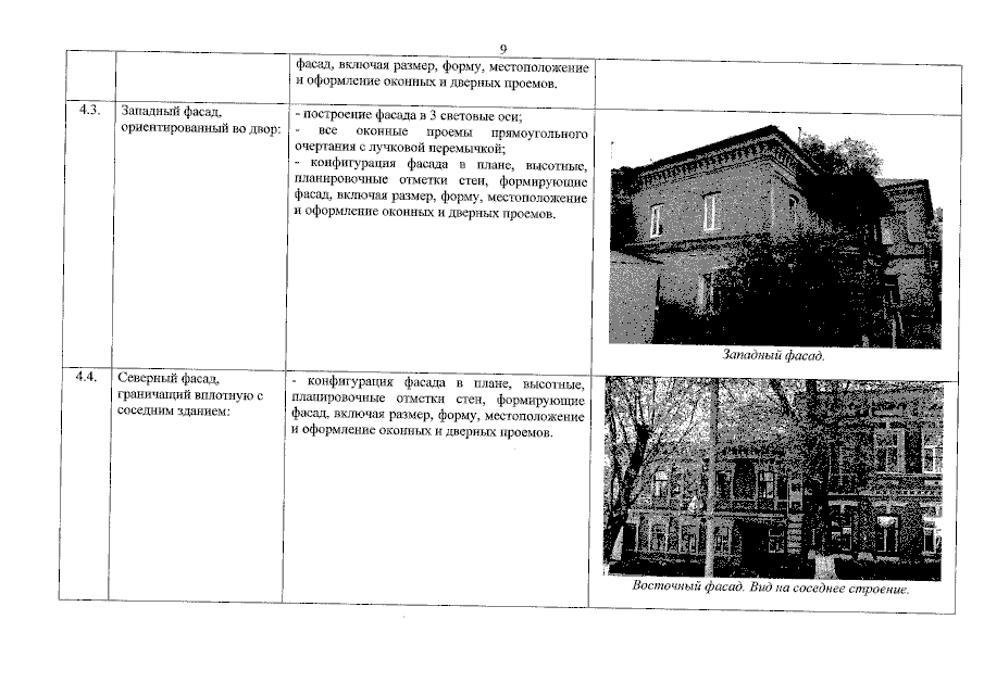
"О включении выявленного объекта культурного наследия в единый государственный реестр объектов культурного наследия (памятников истории и культуры) народов Российской Федерации в качестве объекта культурного наследия регионального значения (вид – памятник) "Южный флигель городской усадьбы А.Т. Титева", 1905-1906 гг., (Оренбургская область, г. Оренбург, ул. Чичерина, 37, Литера В), об утверждении предметов охраны, границ и режима использования территории объекта культурного наследия"
(Зарегистрирован 31.07.2023 № 0204/2023/22)
Номер опубликования: 5601202308020019
Дата опубликования: 02.08.2023
Страница №9 из 18:
Увеличить