Официальное опубликование правовых актов
ОФИЦИАЛЬНОЕ ОПУБЛИКОВАНИЕ
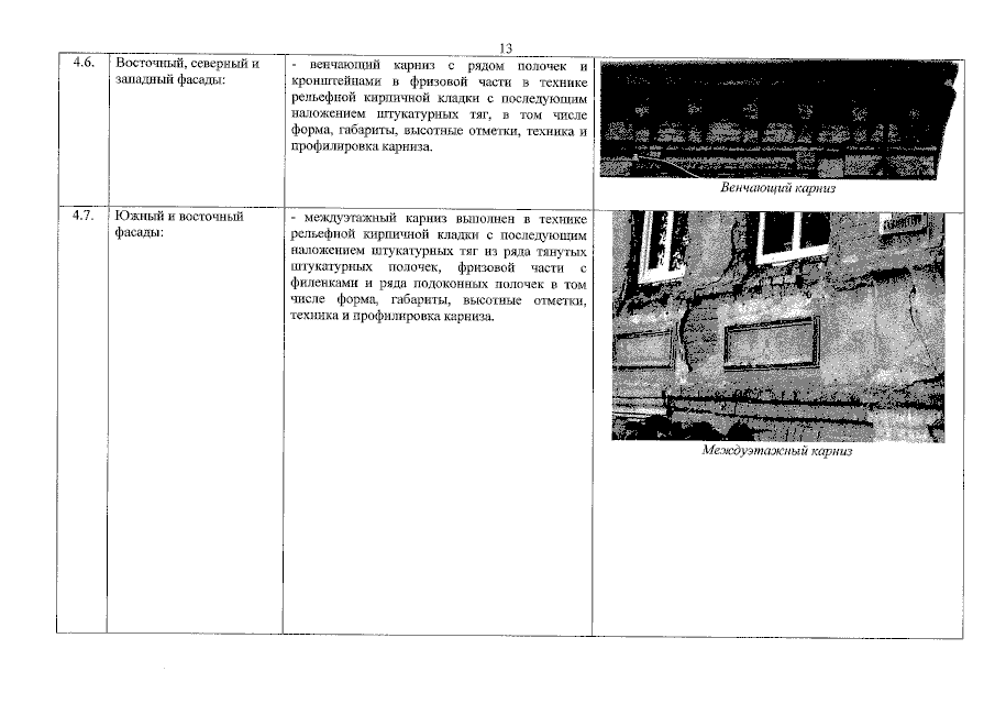
Приказ Инспекции государственной охраны объектов культурного наследия Оренбургской области от 31.07.2023 № 01-08-343
"О включении выявленного объекта культурного наследия в единый государственный реестр объектов культурного наследия (памятников истории и культуры) народов Российской Федерации, об утверждении предмета охраны, границ и режима использования территории объекта культурного наследия"
(Зарегистрирован 31.07.2023 № 0205/2023/22)
Номер опубликования: 5601202308020018
Дата опубликования: 02.08.2023
Страница №13 из 24:
Увеличить