Официальное опубликование правовых актов
ОФИЦИАЛЬНОЕ ОПУБЛИКОВАНИЕ
Приказ Инспекции государственной охраны объектов культурного наследия Оренбургской области от 31.07.2023 № 01-08-344
"О включении выявленного объекта культурного наследия в единый государственный реестр объектов культурного наследия (памятников истории и культуры) народов Российской Федерации, об утверждении предмета охраны, границ и режима использования территории объекта культурного наследия"
(Зарегистрирован 31.07.2023 № 0206/2023/22)
Номер опубликования: 5601202308020017
Дата опубликования: 02.08.2023
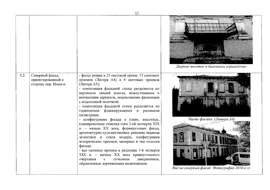
Страница №12 из 28:
Увеличить