Официальное опубликование правовых актов
ОФИЦИАЛЬНОЕ ОПУБЛИКОВАНИЕ
Приказ Инспекции государственной охраны объектов культурного наследия Оренбургской области от 01.08.2023 № 01-08-348
"О включении выявленного объекта культурного наследия в единый государственный реестр объектов культурного наследия (памятников истории и культуры) народов Российской Федерации в качестве объекта культурного наследия регионального значения (вид – памятник) "Дом жилой городской усадьбы П.А. Упыриной", 1870-е гг., (Оренбургская область, г. Оренбург, ул. Яицкая, 52 / пер. Новый, 5, Литера А), об утверждении предметов охраны, границ и режима использования территории объекта культурного наследия"
(Зарегистрирован 01.08.2023 № 0208/2023/22)
Номер опубликования: 5601202308020010
Дата опубликования: 02.08.2023
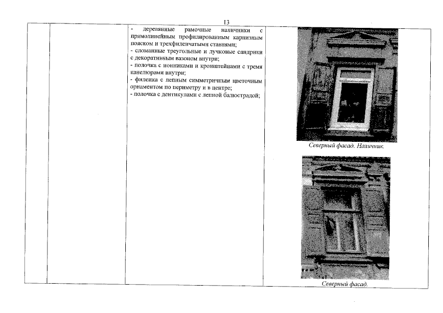
Страница №13 из 22:
Увеличить