Официальное опубликование правовых актов
ОФИЦИАЛЬНОЕ ОПУБЛИКОВАНИЕ
Приказ Инспекции государственной охраны объектов культурного наследия Оренбургской области от 01.08.2023 № 01-08-349
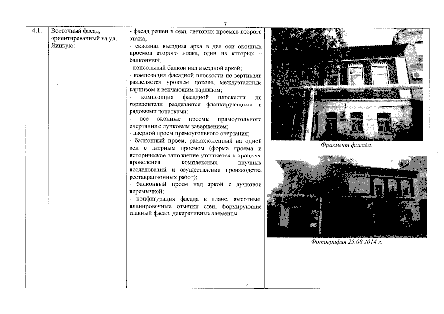
"О включении выявленного объекта культурного наследия в единый государственный реестр объектов культурного наследия (памятников истории и культуры) народов Российской Федерации в качестве объекта культурного наследия регионального значения (вид – памятник) "Дом жилой городской усадьбы", рубеж XIX-XX веков, (Оренбургская область, г. Оренбург, ул. Яицкая, 51), об утверждении предметов охраны, границ и режима использования территории объекта культурного наследия"
(Зарегистрирован 01.08.2023 № 0209/2023/22)
Номер опубликования: 5601202308020009
Дата опубликования: 02.08.2023
Страница №7 из 18:
Увеличить