Официальное опубликование правовых актов
ОФИЦИАЛЬНОЕ ОПУБЛИКОВАНИЕ
Приказ Инспекции государственной охраны объектов культурного наследия Оренбургской области от 01.08.2023 № 01-08-352
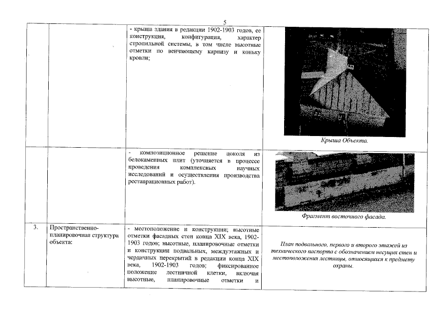
"О включении выявленного объекта культурного наследия в единый государственный реестр объектов культурного наследия (памятников истории и культуры) народов Российской Федерации в качестве объекта культурного наследия регионального значения (вид – памятник) "Дом М.Е. Харитонова", конец XIX века, 1902-1903 гг., (Оренбургская область, г. Оренбург, ул. Чичерина, 57, Литера А), об утверждении предметов охраны, границ и режима использования территории объекта культурного наследия"
(Зарегистрирован 01.08.2023 № 0212/2023/22)
Номер опубликования: 5601202308020006
Дата опубликования: 02.08.2023
Страница №5 из 18:
Увеличить