Официальное опубликование правовых актов
ОФИЦИАЛЬНОЕ ОПУБЛИКОВАНИЕ
Приказ Инспекции государственной охраны объектов культурного наследия Оренбургской области от 13.07.2023 № 01-08-257
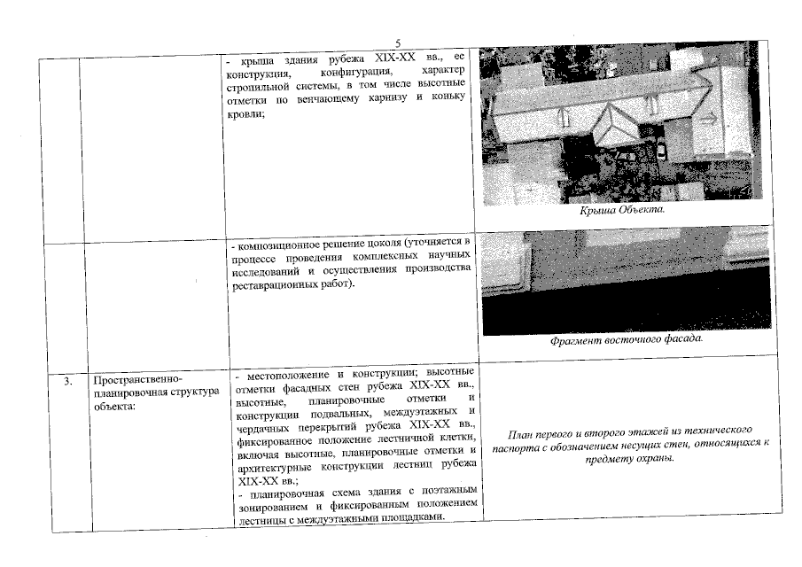
"О включении выявленного объекта культурного наследия в единый государственный реестр объектов культурного наследия (памятников истории и культуры) народов Российской Федерации в качестве объекта культурного наследия регионального значения (вид – памятник) "Жилой дом (флигель) городской усадьбы Н.К. Гнездилова", рубеж XIX – ХХ веков, (Оренбургская область, г. Оренбург, ул. Чичерина, 43), об утверждении предметов охраны, границ и режима использования территории объекта культурного наследия"
(Зарегистрирован 13.07.2023 № 0141/2023/22)
Номер опубликования: 5601202307140007
Дата опубликования: 14.07.2023
Страница №5 из 19:
Увеличить