Официальное опубликование правовых актов
ОФИЦИАЛЬНОЕ ОПУБЛИКОВАНИЕ
Приказ Инспекции государственной охраны объектов культурного наследия Оренбургской области от 12.07.2023 № 01-08-254
"О включении выявленного объекта культурного наследия в единый государственный реестр объектов культурного наследия (памятников истории и культуры) народов Российской Федерации, об утверждении предмета охраны, границ и режима использования территории объекта культурного наследия"
(Зарегистрирован 12.07.2023 № 0139/2023/22)
Номер опубликования: 5601202307130001
Дата опубликования: 13.07.2023
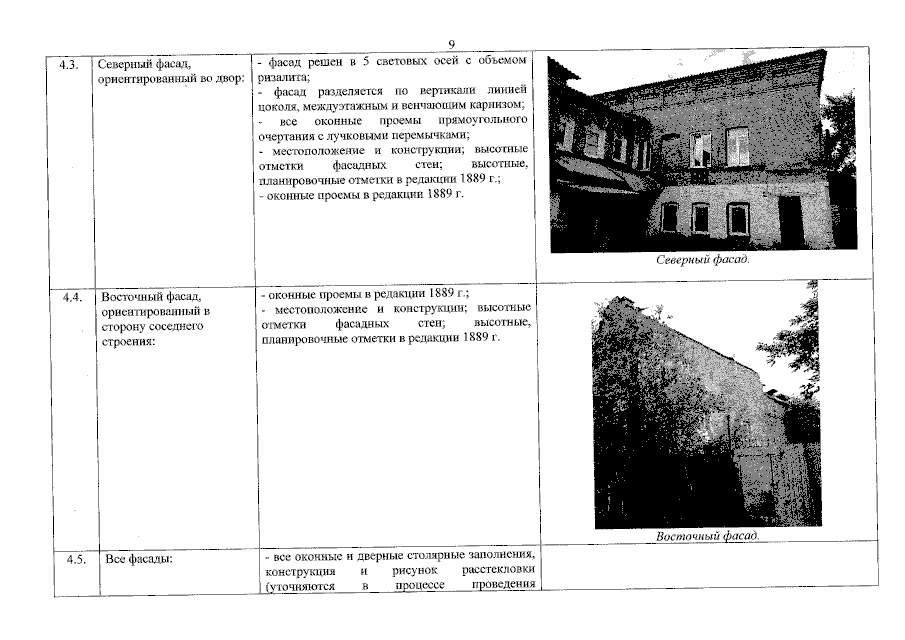
Страница №9 из 18:
Увеличить