Официальное опубликование правовых актов
ОФИЦИАЛЬНОЕ ОПУБЛИКОВАНИЕ
Приказ Инспекции государственной охраны объектов культурного наследия Оренбургской области от 19.06.2023 № 01-08-217
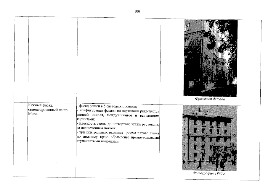
"О включении выявленного объекта культурного наследия в единый государственный реестр объектов культурного наследия (памятников истории и культуры) народов Российской Федерации в качестве объекта культурного наследия регионального значения (вид – ансамбль) «Комплекс зданий, формирующий исторический центр Нового города Орска» 1935 – 1963 гг., (Оренбургская область, г. Орск, проспект Мира / ул. Станиславского, 15/57, 16/59, проспект Мира 17, 18, 19, 20, 21, 22, 24, 26, проспект Мира / проспект Ленина, 23/26, проспект Мира / проспект Ленина, 28/28), об утверждении предметов охраны, границ и режима использования территории объекта культурного наследия"
Номер опубликования: 5601202306190005
Дата опубликования: 19.06.2023
Страница №100 из 115:
Увеличить