Официальное опубликование правовых актов
ОФИЦИАЛЬНОЕ ОПУБЛИКОВАНИЕ
Постановление Правительства Московской области от 19.11.2021 № 1188/39
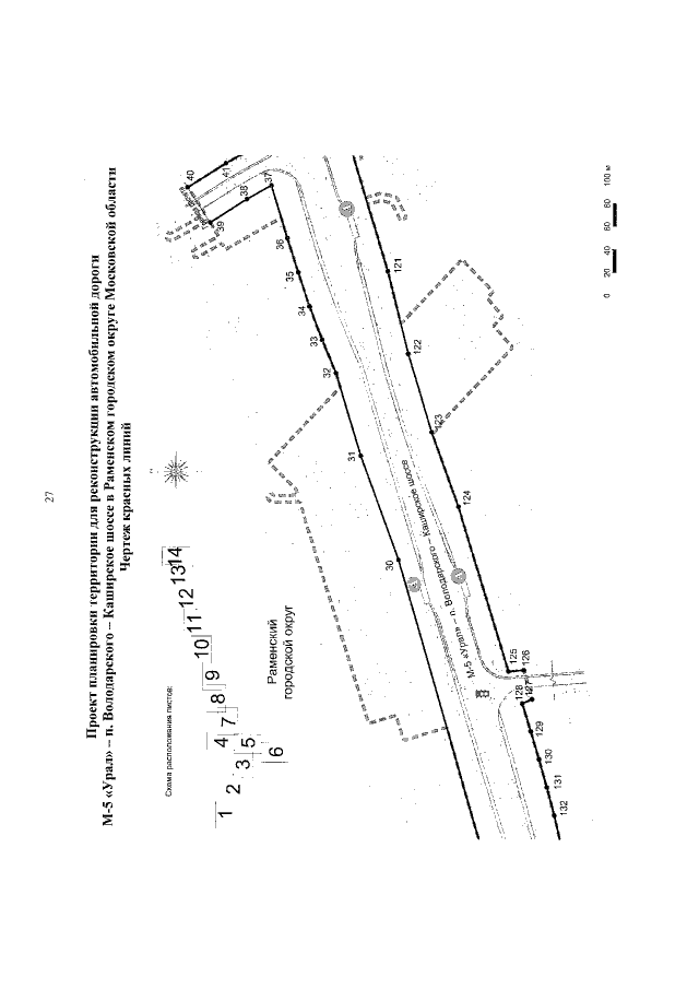
"Об утверждении проекта планировки территории для реконструкции автомобильной дороги М-5 "Урал" – п. Володарского – Каширское шоссе в Раменском городском округе Московской области"
Номер опубликования: 5000202111240005
Дата опубликования: 24.11.2021
Страница №29 из 63:
Увеличить