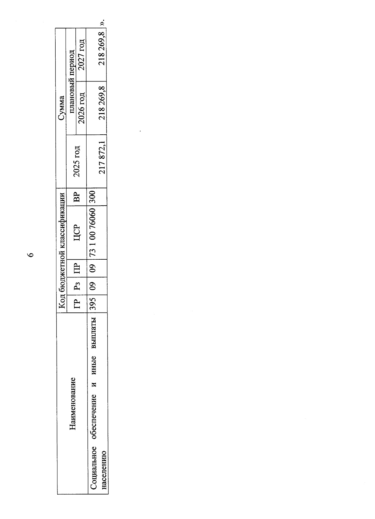
Закон Магаданской области от 23.12.2025 № 3050-ОЗ
"О внесении изменений в Закон Магаданской области "О бюджете Территориального фонда обязательного медицинского страхования Магаданской области на 2025 год и плановый период 2026 и 2027 годов"
"О внесении изменений в Закон Магаданской области "О бюджете Территориального фонда обязательного медицинского страхования Магаданской области на 2025 год и плановый период 2026 и 2027 годов"
Номер опубликования: 4900202512230002
Дата опубликования:
23.12.2025
