Официальное опубликование правовых актов
ОФИЦИАЛЬНОЕ ОПУБЛИКОВАНИЕ
Постановление Правительства Магаданской области от 30.05.2022 № 477-пп
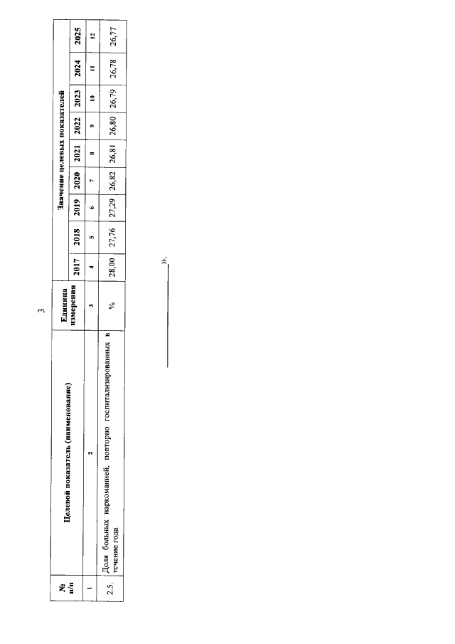
"О внесении изменений в постановление Правительства Магаданской области от 21 сентября 2017 г. № 829-пп "Об утверждении государственной программы Магаданской области "Обеспечение безопасности, профилактика правонарушений и противодействие незаконному обороту наркотических средств в Магаданской области"
Номер опубликования: 4900202205310012
Дата опубликования: 31.05.2022
Страница №10 из 44:
Увеличить