Официальное опубликование правовых актов
ОФИЦИАЛЬНОЕ ОПУБЛИКОВАНИЕ
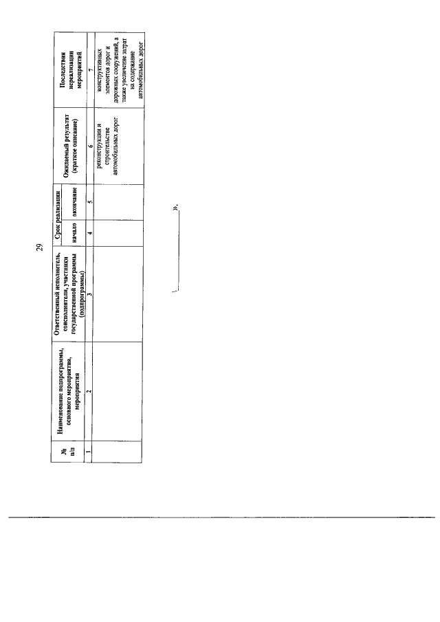
Постановление Правительства Магаданской области от 09.07.2021 № 521-пп
"О внесении изменений в постановление администрации Магаданской области от 20 ноября 2013 г. № 1145-па "Об утверждении государственной программы Магаданской области "Развитие транспортной системы в Магаданской области"
Номер опубликования: 4900202107120002
Дата опубликования: 12.07.2021
Страница №36 из 93:
Увеличить