Официальное опубликование правовых актов
ОФИЦИАЛЬНОЕ ОПУБЛИКОВАНИЕ
Распоряжение Губернатора Курской области от 14.11.2014 № 824-рг
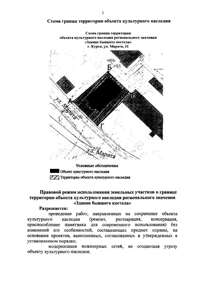
"Об утверждении границ территории, границ зон охраны, режимов использования земель и градостроительных регламентов в границах территории и в границах зон охраны объектов культурного наследия (памятников истории и культуры) народов Российской Федерации, расположенных на территории г. Курска"
Номер опубликования: 4600201411170003
Дата опубликования: 17.11.2014
Страница №54 из 74:
Увеличить