Официальное опубликование правовых актов
ОФИЦИАЛЬНОЕ ОПУБЛИКОВАНИЕ
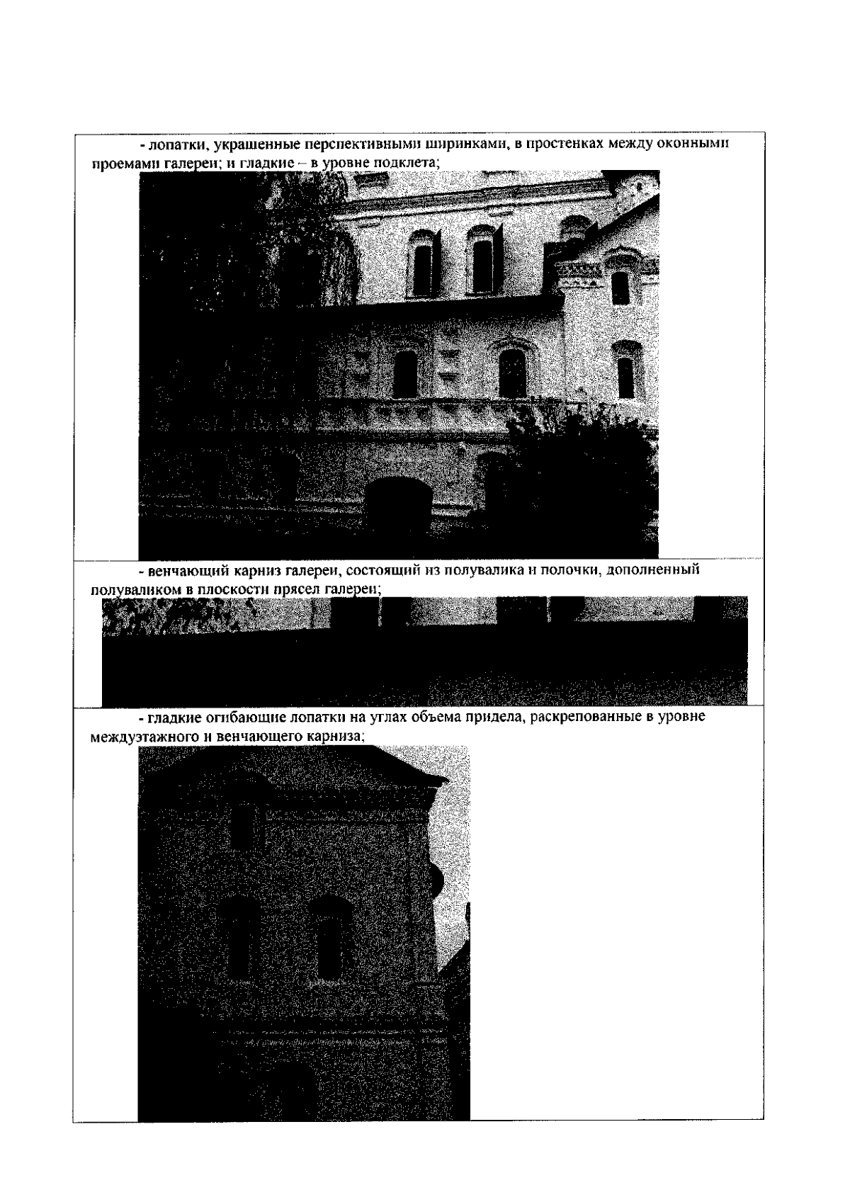
Приказ Инспекции по охране объектов культурного наследия Костромской области от 12.01.2024 № 11-НПА
"Об утверждении предмета охраны объекта культурного наследия федерального значения "Ансамбль Ипатьевского монастыря, XVI-XIX вв.: Троицкий собор", 1652 г. (Костромская область, г. Кострома, ул. Просвещения, 1)"
(Зарегистрирован 25.01.2024 № 32)
Номер опубликования: 4401202401290001
Дата опубликования: 29.01.2024
Страница №36 из 104:
Увеличить