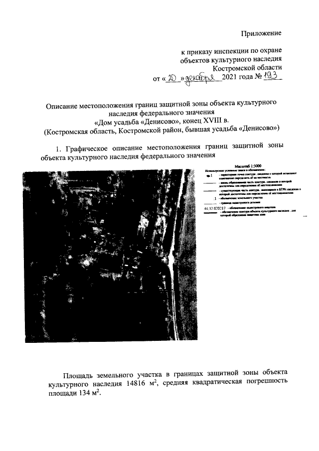
Приказ Инспекции по охране объектов культурного наследия Костромской области от 20.12.2021 № 193
"Об утверждении графического описания местоположения границ защитной зоны объекта культурного наследия федерального значения "Дом усадьба "Денисово", конец XVIII в. (Костромская область, Костромской район, бывшая усадьба "Денисово") с перечнем координат характерных точек этих границ в системе координат, установленной для ведения Единого государственного реестра недвижимости, режима использования земель в границах защитной зоны объектов культурного наследия"
"Об утверждении графического описания местоположения границ защитной зоны объекта культурного наследия федерального значения "Дом усадьба "Денисово", конец XVIII в. (Костромская область, Костромской район, бывшая усадьба "Денисово") с перечнем координат характерных точек этих границ в системе координат, установленной для ведения Единого государственного реестра недвижимости, режима использования земель в границах защитной зоны объектов культурного наследия"
Номер опубликования: 4401202112230003
Дата опубликования:
23.12.2021
