Официальное опубликование правовых актов
ОФИЦИАЛЬНОЕ ОПУБЛИКОВАНИЕ
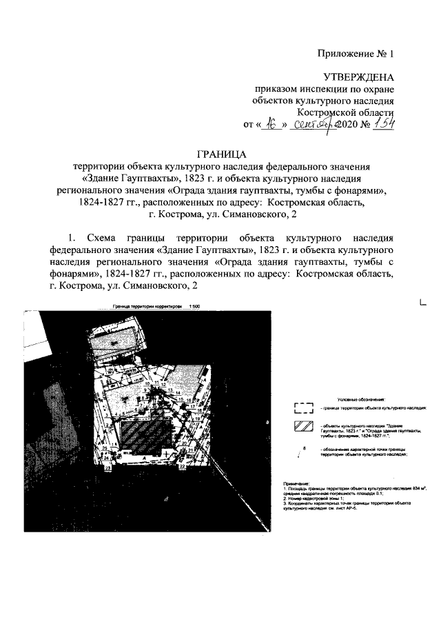
Приказ Инспекции по охране объектов культурного наследия Костромской области от 16.09.2020 № 154
"Об установлении границы и правового режима использования территории объекта культурного наследия федерального значения "Здание Гауптвахты", 1823 г. и объекта культурного наследия регионального значения "Ограда здания гауптвахты, тумбы с фонарями", 1824-1827 гг.‚ расположенных по адресу: Костромская область, г. Кострома, ул. Симановского, 2"
Номер опубликования: 4401202009170001
Дата опубликования: 17.09.2020
Страница №3 из 7:
Увеличить