Официальное опубликование правовых актов
ОФИЦИАЛЬНОЕ ОПУБЛИКОВАНИЕ
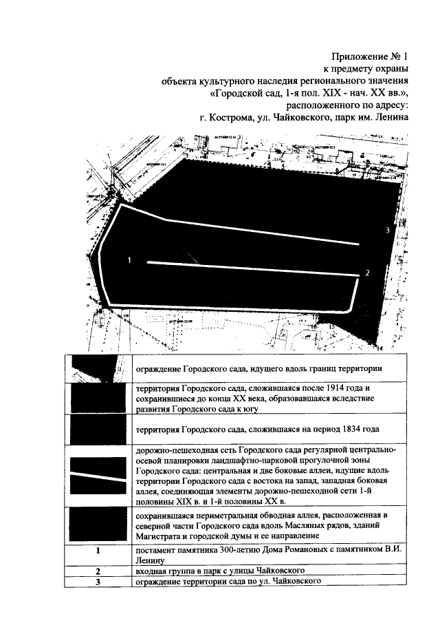
Приказ Инспекции по охране объектов культурного наследия Костромской области от 22.05.2020 № 75
"Об утверждении предмета охраны объекта культурного наследия регионального значения "Городской сад", 1-я пол. XIX - нач. ХХ вв., расположенного по адресу: Костромская обл.‚ г. Кострома, ул. Чайковского, парк им. Ленина"
Номер опубликования: 4401202005280001
Дата опубликования: 28.05.2020
Страница №5 из 11:
Увеличить