Официальное опубликование правовых актов
ОФИЦИАЛЬНОЕ ОПУБЛИКОВАНИЕ
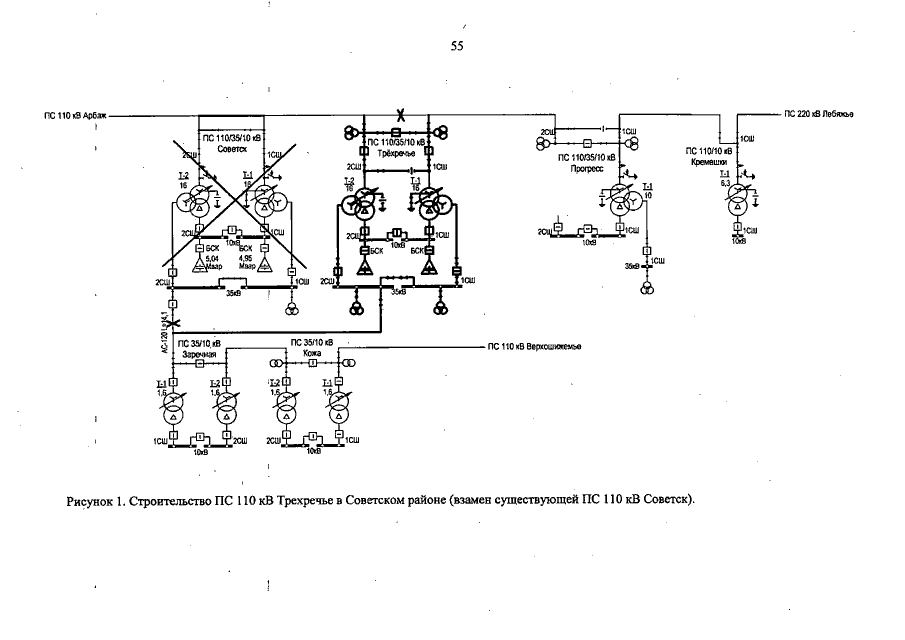
Указ Губернатора Кировской области от 30.04.2019 № 57
"Об утверждении Программы развития электроэнергетики Кировской области на 2020 – 2024 годы"
Номер опубликования: 4300201905070001
Дата опубликования: 07.05.2019
Страница №56 из 164:
Увеличить