Официальное опубликование правовых актов
ОФИЦИАЛЬНОЕ ОПУБЛИКОВАНИЕ
Приказ Управления по охране объектов культурного наследия Калужской области от 13.01.2025 № 5
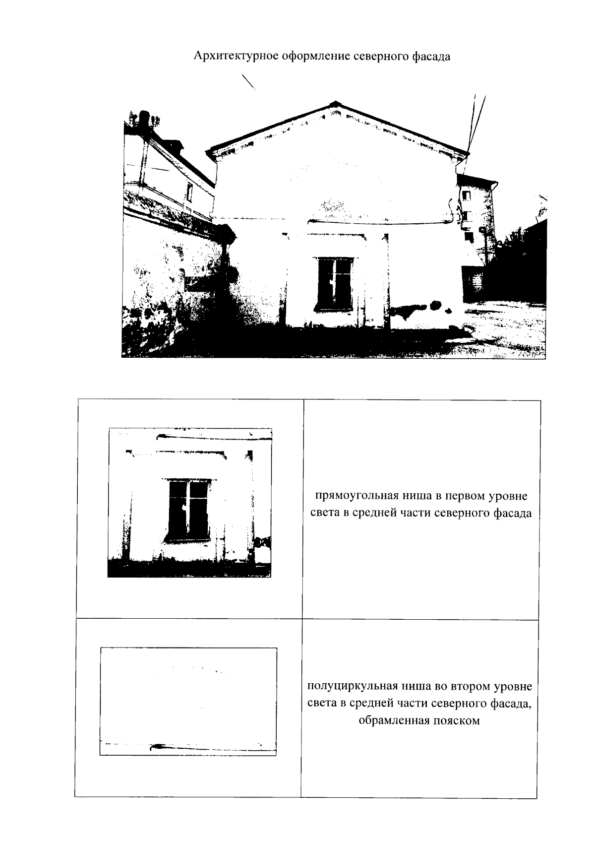
"О включении в единый государственный реестр объектов культурного наследия (памятников истории и культуры) народов Российской Федерации выявленного объекта культурного наследия "Усадьба Кожевникова: главный дом, жилой флигель, хозяйственная постройка, ворота", кон. XVIII – нач. XIX вв., (Калужская область, г. Калуга, ул. Кирова, 40)"
(Зарегистрирован 04.02.2025 № 15187)
Номер опубликования: 4001202502060002
Дата опубликования: 06.02.2025
Страница №25 из 34:
Увеличить