Приказ Министерства природных ресурсов и экологии Иркутской области от 06.10.2025 № 66-46-мпр
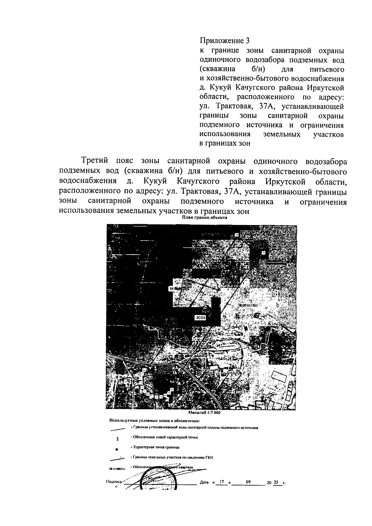
"Об установлении зоны санитарной охраны одиночного водозабора подземных вод (скважина б/н) для питьевого и хозяйственно-бытового водоснабжения д. Кукуй Качугского района Иркутской области, расположенного по адресу: ул. Трактовая, 37А, устанавливающей границы зоны санитарной охраны подземного источника и ограничения использования земельных участков в границах зон"
(Зарегистрирован 06.10.2025 № 03-1849/25)
"Об установлении зоны санитарной охраны одиночного водозабора подземных вод (скважина б/н) для питьевого и хозяйственно-бытового водоснабжения д. Кукуй Качугского района Иркутской области, расположенного по адресу: ул. Трактовая, 37А, устанавливающей границы зоны санитарной охраны подземного источника и ограничения использования земельных участков в границах зон"
(Зарегистрирован 06.10.2025 № 03-1849/25)
Номер опубликования: 3801202510070015
Дата опубликования:
07.10.2025
