Официальное опубликование правовых актов
ОФИЦИАЛЬНОЕ ОПУБЛИКОВАНИЕ
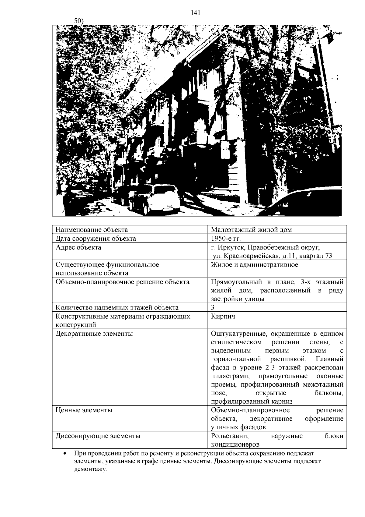
Приказ службы по охране объектов культурного наследия Иркутской области от 13.08.2025 № 76-440-спр
"О внесении изменения в предмет охраны исторического поселения город Иркутск, утвержденный приказом службы по охране объектов культурного наследия Иркутской области от 4 марта 2014 года № 17-сп"
(Зарегистрирован 15.08.2025 № 04-1382/25)
Номер опубликования: 3801202508220002
Дата опубликования: 22.08.2025
Страница №142 из 217:
Увеличить