Официальное опубликование правовых актов
ОФИЦИАЛЬНОЕ ОПУБЛИКОВАНИЕ
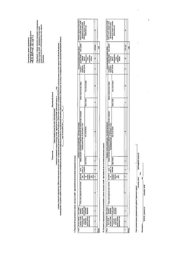
Приказ департамента строительной политики Воронежской области от 28.02.2018 № 61-02-03/33
"О внесении изменений в приказ департамента строительной политики Воронежской области от 08.02.2016 № 61-02-03/8"
(Зарегистрирован 19.03.2018 № 133)
Номер опубликования: 3601201803230019
Дата опубликования: 23.03.2018
Страница №5 из 5:
Увеличить