Приказ Министерства жилищно-коммунального хозяйства Владимирской области от 14.11.2025 № 161
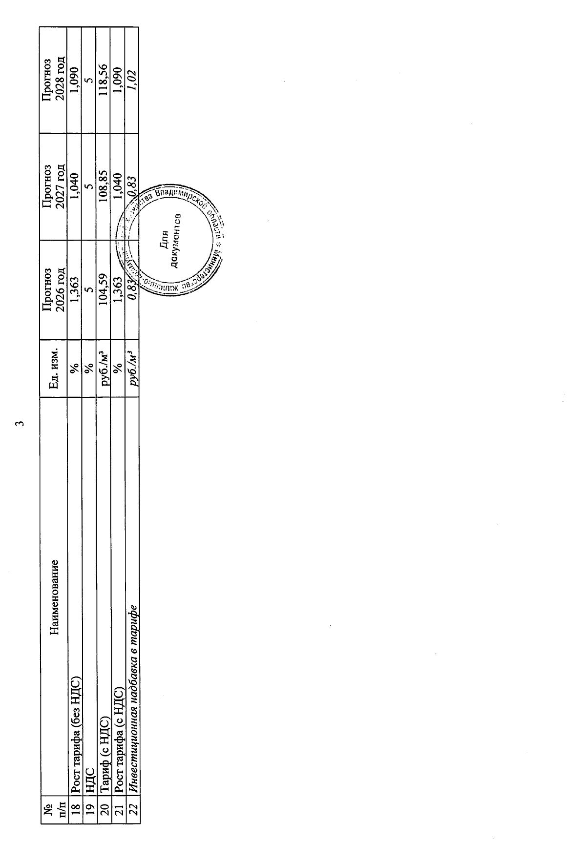
"Об утверждении инвестиционной программы муниципального унитарного предприятия "ВОДОКАНАЛ" жилищно-коммунального хозяйства Селивановского района в сфере водоснабжения и водоотведения на 2026-2028 годы"
"Об утверждении инвестиционной программы муниципального унитарного предприятия "ВОДОКАНАЛ" жилищно-коммунального хозяйства Селивановского района в сфере водоснабжения и водоотведения на 2026-2028 годы"
Номер опубликования: 3301202511210002
Дата опубликования:
21.11.2025
