Официальное опубликование правовых актов
ОФИЦИАЛЬНОЕ ОПУБЛИКОВАНИЕ
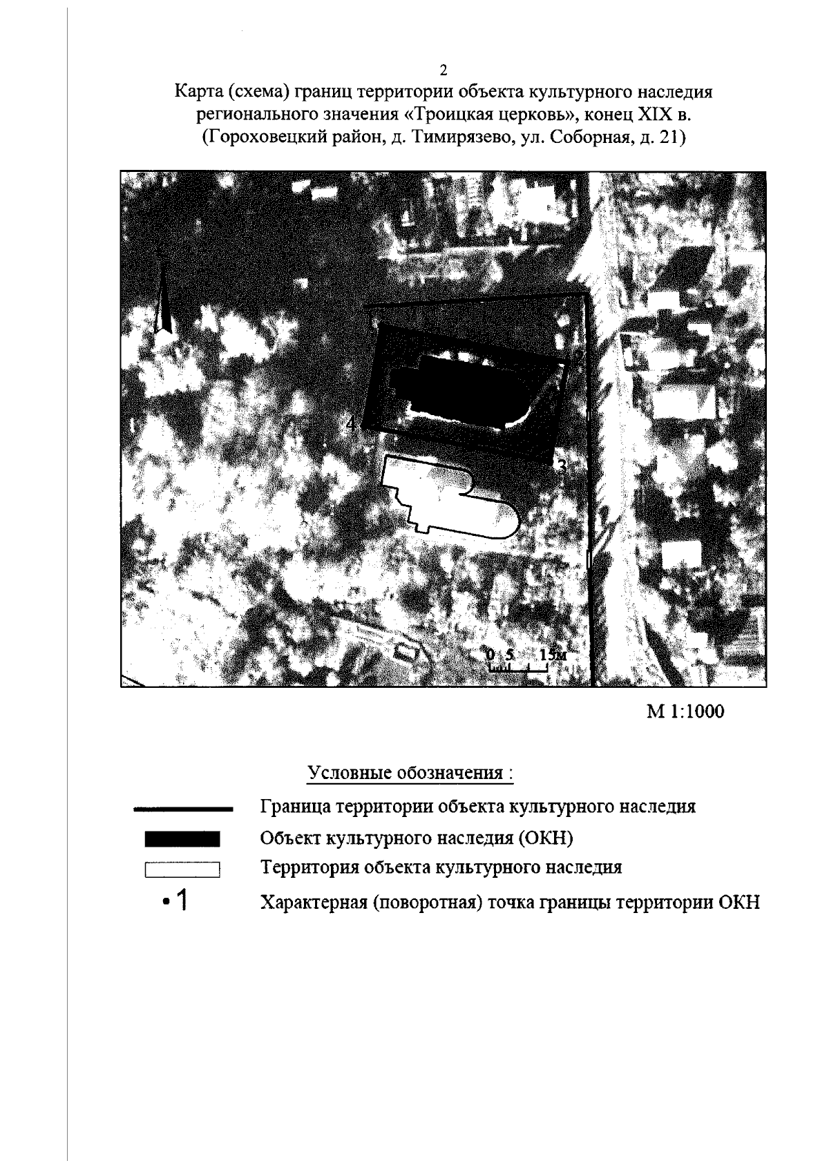
Приказ Инспекции государственной охраны объектов культурного наследия Владимирской области от 05.08.2024 № 25-н
"Об утверждении границ и режима использования территории объекта культурного наследия регионального значения "Троицкая церковь", конец XIX в. (Гороховецкий район, д. Тимирязево, ул. Соборная, д. 21)"
(Зарегистрирован 05.08.2024 № ИГООКН2024-25)
Номер опубликования: 3301202408050016
Дата опубликования: 05.08.2024
Страница №3 из 6:
Увеличить