Официальное опубликование правовых актов
ОФИЦИАЛЬНОЕ ОПУБЛИКОВАНИЕ
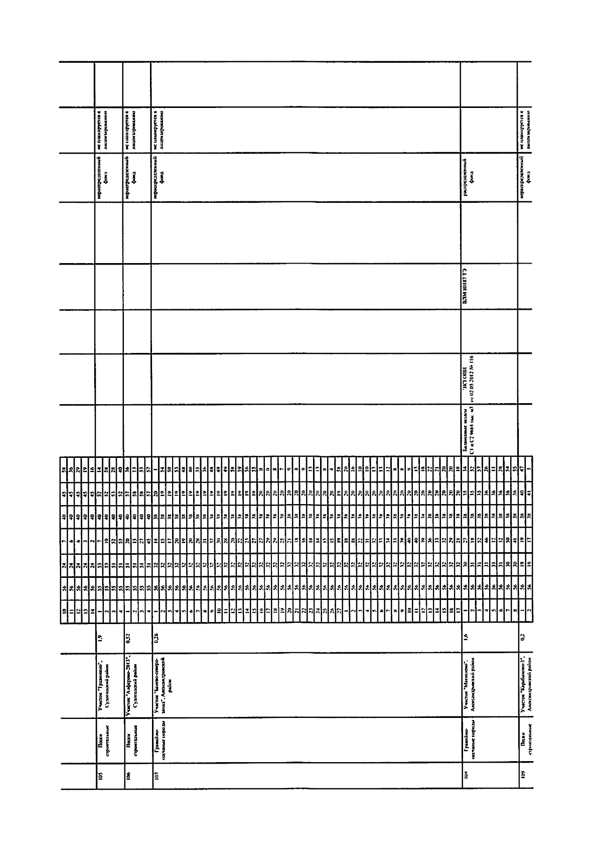
Приказ Министерства природопользования и экологии Владимирской области от 20.05.2024 № 32-н
"Об утверждении перечня участков недр местного значения по Владимирской области, содержащих общераспространенные полезные ископаемые"
(Зарегистрирован 20.05.2024 № МПЭ2024-032)
Номер опубликования: 3301202405210008
Дата опубликования: 21.05.2024
Страница №17 из 124:
Увеличить