Официальное опубликование правовых актов
ОФИЦИАЛЬНОЕ ОПУБЛИКОВАНИЕ
Постановление администрации Владимирской области от 12.11.2014 № 1157
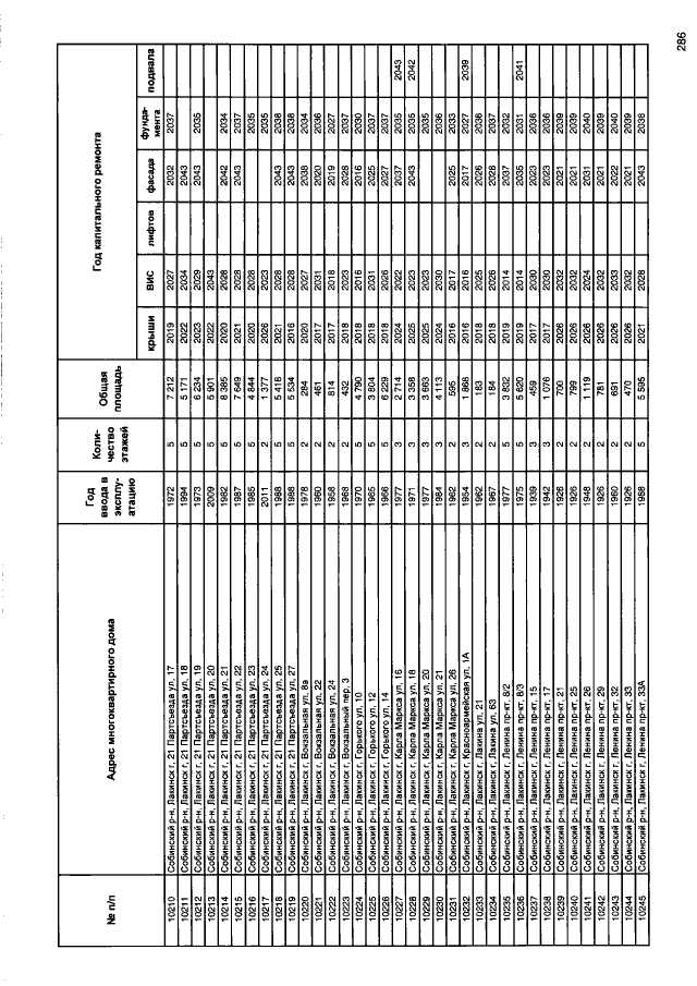
"О внесении изменений в постановление Губернатора области от 30.12.2013 № 1502 "Об утверждении региональной программы капитального ремонта на период с 2014 по 2043 годы"
Номер опубликования: 3300201411130001
Дата опубликования: 13.11.2014
Страница №314 из 351:
Увеличить