Официальное опубликование правовых актов
ОФИЦИАЛЬНОЕ ОПУБЛИКОВАНИЕ
Приказ Управления по охране и сохранению историко-культурного наследия Брянской области от 02.02.2024 № 2-1/11
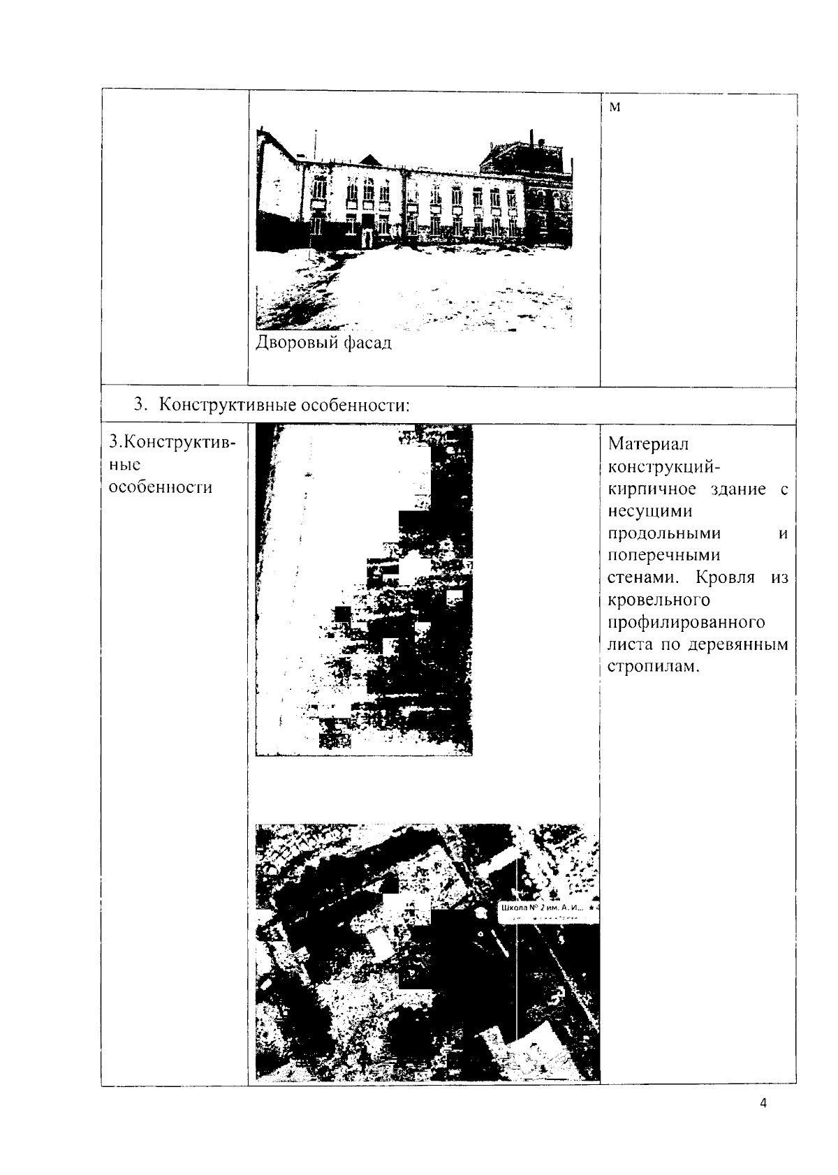
"Об утверждении предмета охраны объекта культурного наследия местного (муниципального) значения "Здание школы, в которой учились В.А. Вагин и Л.М. Татаринов", расположенного по адресу: Брянская область, Клинцовский район, г. Клинцы, ул. Октябрьская, д. 29"
(Зарегистрирован 06.02.2024 № 20240004025)
Номер опубликования: 3201202402120005
Дата опубликования: 12.02.2024
Страница №6 из 23:
Увеличить