Официальное опубликование правовых актов
ОФИЦИАЛЬНОЕ ОПУБЛИКОВАНИЕ
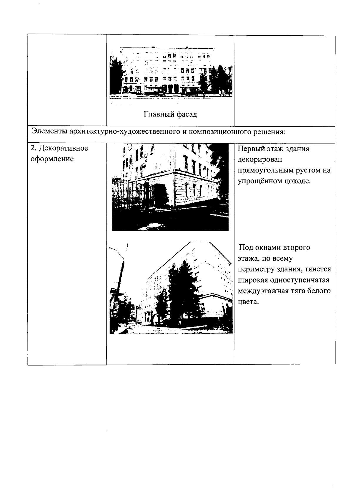
Приказ Управления по охране и сохранению историко-культурного наследия Брянской области от 10.01.2024 № 2-1/1
"Об утверждении предмета охраны объекта культурного наследия регионального значения "Строительный техникум", включенного в единый государственный реестр объектов культурного наследия (памятников истории и культуры) народов Российской Федерации, расположенного по адресу (местонахождение): Брянская область, г. Брянск, просп. Ленина, д. 7"
(Зарегистрирован 12.01.2024 № 20240001025)
Номер опубликования: 3201202401180006
Дата опубликования: 18.01.2024
Страница №6 из 10:
Увеличить