Официальное опубликование правовых актов
ОФИЦИАЛЬНОЕ ОПУБЛИКОВАНИЕ
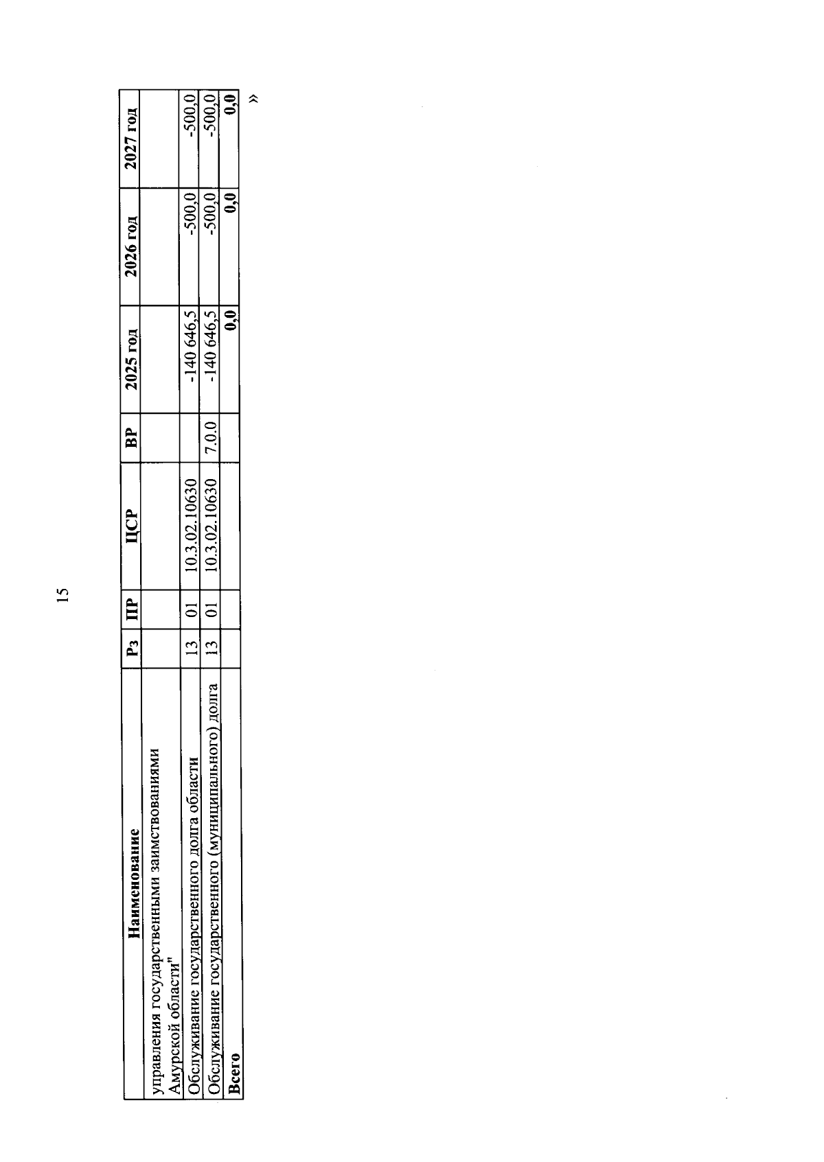
Закон Амурской области от 26.06.2025 № 652-ОЗ
"О внесении изменений в Закон Амурской области "Об областном бюджете на 2025 год и плановый период 2026 и 2027 годов"
Номер опубликования: 2800202506270001
Дата опубликования: 27.06.2025
Страница №21 из 64:
Увеличить