Официальное опубликование правовых актов
ОФИЦИАЛЬНОЕ ОПУБЛИКОВАНИЕ
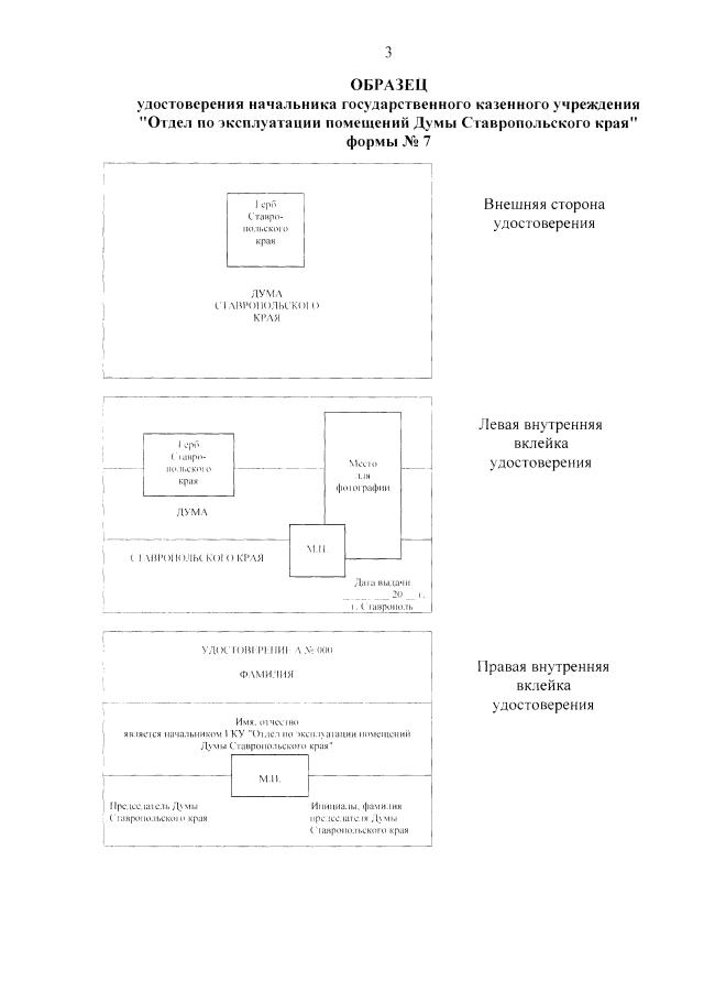
Постановление Думы Ставропольского края от 27.05.2021 № 2238-VI ДСК
"Об утверждении Положения о порядке организации изготовления, учета и выдачи удостоверений в Думе Ставропольского края"
Номер опубликования: 2600202105310003
Дата опубликования: 31.05.2021
Страница №33 из 37:
Увеличить