Официальное опубликование правовых актов
ОФИЦИАЛЬНОЕ ОПУБЛИКОВАНИЕ
Приказ администрации Краснодарского края от 28.01.2025 № 40-КН
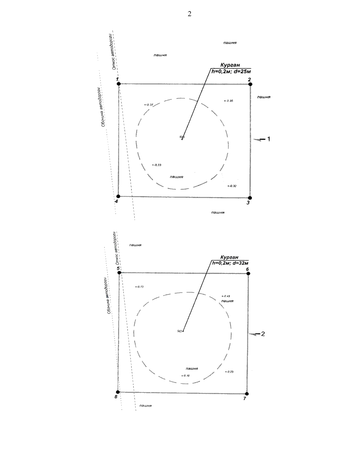
"О включении объекта "Курганная группа "Красный Гай западное", Краснодарский край, Мостовский район, х. Свободный мир, 1,46 км к юго-западу от школы № 19 по ул. Коммунаров, 1,99 км к северу-северо-западу от перекрестка ул. Степная и ул. Мичурина в х. Дятлов, в перечень выявленных объектов культурного наследия Краснодарского края, утверждении его границ и режима использования территории"
Номер опубликования: 2301202502040002
Дата опубликования: 04.02.2025
Страница №4 из 7:
Увеличить