Официальное опубликование правовых актов
ОФИЦИАЛЬНОЕ ОПУБЛИКОВАНИЕ
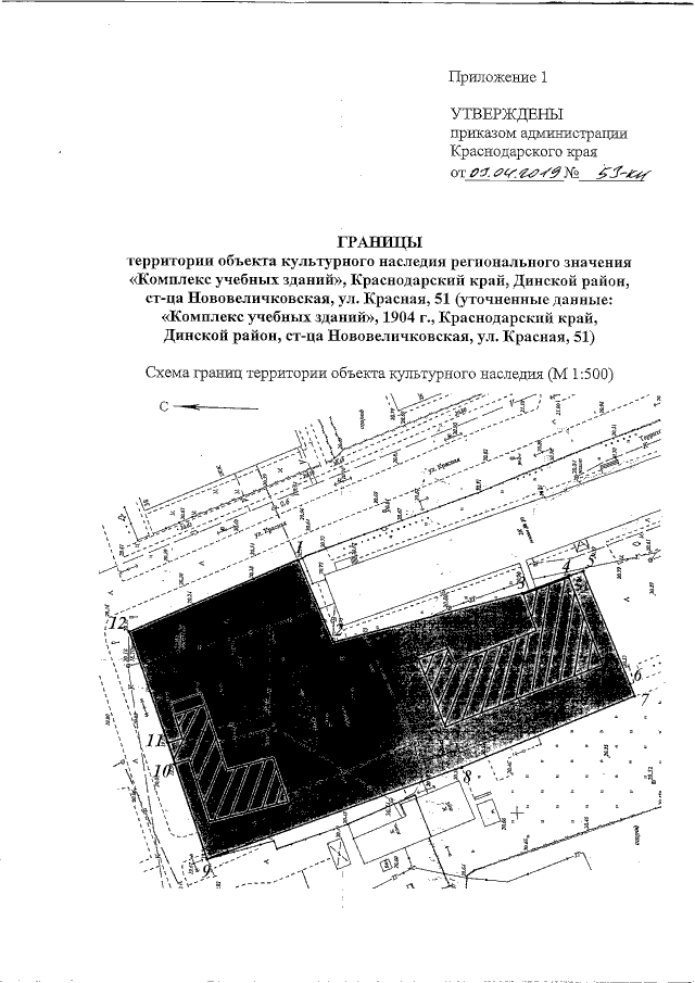
Приказ администрации Краснодарского края от 03.04.2019 № 53-КН
"Об утверждении границ и режимов использования территорий объекта культурного наследия регионального значения "Комплекс учебных зданий", Краснодарский край, Динской район, ст-ца Нововеличковская, ул. Красная, 51 (уточненные данные: "Комплекс учебных зданий", 1904 г., Краснодарский край, Динской район, ст-ца Нововеличковская, ул. Красная, 51), а также входящих в его состав объектов культурного наследия регионального значения "Школа", Краснодарский край, Динской район, ст-ца Нововеличковская, ул. Красная, 51 (уточненные данные: "Школа", 1904 г., Краснодарский край, Динской район, ст-ца Нововеличковская, ул. Красная, 51, лит. Б) и "Школа", Краснодарский край, Динской район, ст-ца Нововеличковская, ул. Красная, 51 (уточненные данные: "Школа", 1904 г., Краснодарский край, Динской район, ст-ца Нововеличковская, ул. Красная, 51, лит. Ж)"
Номер опубликования: 2301201904100002
Дата опубликования: 10.04.2019
Страница №4 из 18:
Увеличить