Официальное опубликование правовых актов
ОФИЦИАЛЬНОЕ ОПУБЛИКОВАНИЕ
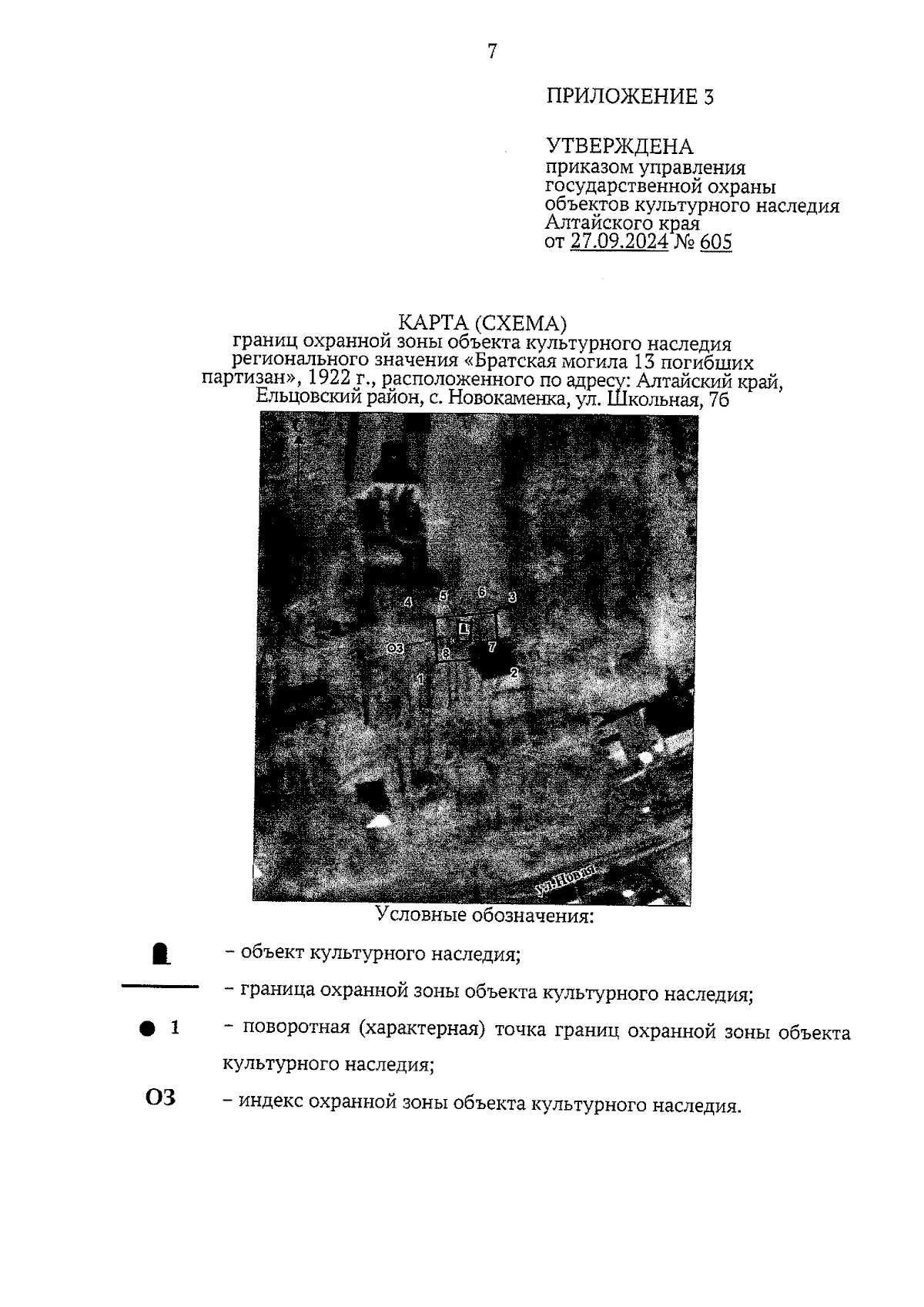
Приказ Управления государственной охраны объектов культурного наследия Алтайского края от 27.09.2024 № 605
"Об установлении зоны охраны объекта культурного наследия регионального значения "Братская могила 13 погибших партизан", 1922 г., расположенного по адресу: Алтайский край, Ельцовский район, с. Новокаменка, ул. Школьная, 7б, утверждении режима использования земель и требований к градостроительным регламентам в границах территории данной зоны"
(Зарегистрирован 27.09.2024 № 1154)
Номер опубликования: 2201202409300001
Дата опубликования: 30.09.2024
Страница №7 из 7:
Увеличить