Официальное опубликование правовых актов
ОФИЦИАЛЬНОЕ ОПУБЛИКОВАНИЕ
Приказ Управления государственной охраны объектов культурного наследия Алтайского края от 20.11.2023 № 872
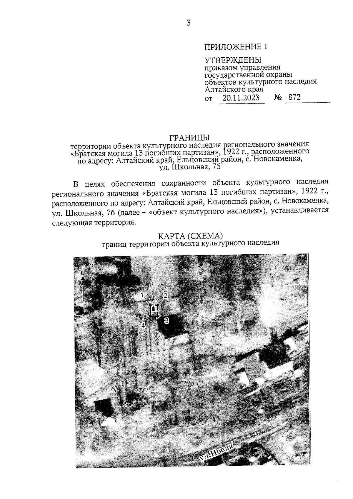
"Об утверждении границ территории и режима использования территории объекта культурного наследия регионального значения "Братская могила 13 погибших партизан", 1922 г., расположенного по адресу: Алтайский край, Ельцовский район, с. Новокаменка, ул. Школьная, 7б"
(Зарегистрирован 22.11.2023 № 1659)
Номер опубликования: 2201202311220040
Дата опубликования: 22.11.2023
Страница №3 из 6:
Увеличить