Официальное опубликование правовых актов
ОФИЦИАЛЬНОЕ ОПУБЛИКОВАНИЕ
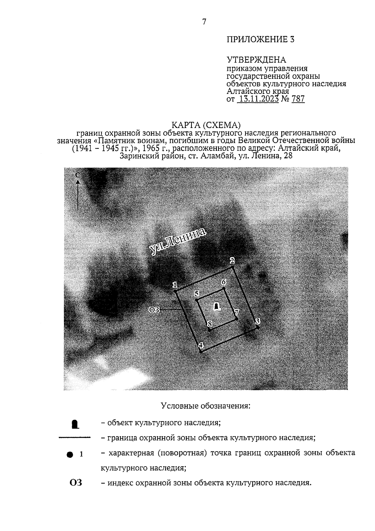
Приказ Управления государственной охраны объектов культурного наследия Алтайского края от 13.11.2023 № 787
"Об установлении зоны охраны объекта культурного наследия регионального значения "Памятник воинам, погибшим в годы Великой Отечественной войны (1941 – 1945 гг.)", 1965 г., расположенного по адресу: Алтайский край, Заринский район, ст. Аламбай, ул. Ленина, 28, утверждении режима использования земель и требований к градостроительным регламентам в границах территории данной зоны"
(Зарегистрирован 14.11.2023 № 1510)
Номер опубликования: 2201202311140009
Дата опубликования: 14.11.2023
Страница №7 из 7:
Увеличить