Официальное опубликование правовых актов
ОФИЦИАЛЬНОЕ ОПУБЛИКОВАНИЕ
Приказ Управления государственной охраны объектов культурного наследия Алтайского края от 30.10.2023 № 704
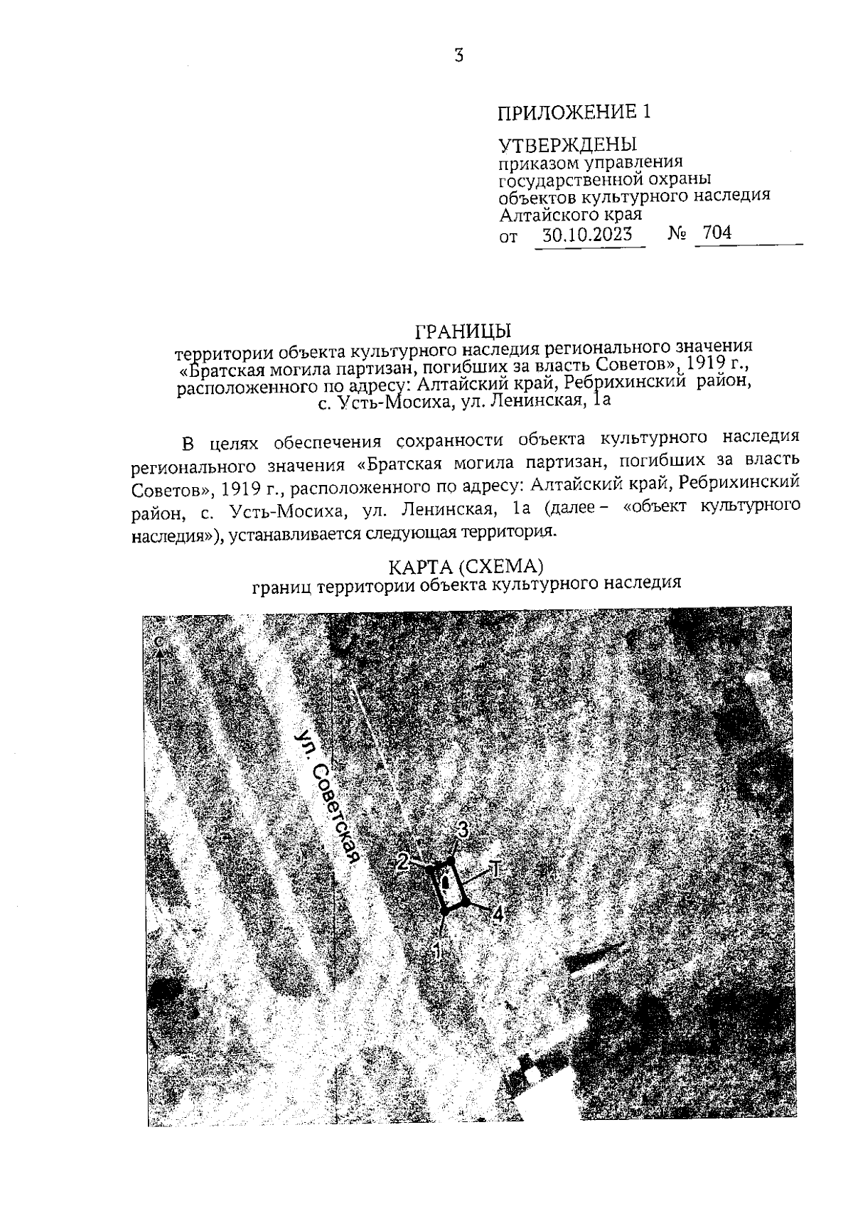
"Об утверждении границ территории и режима использования территории объекта культурного наследия регионального значения "Братская могила партизан, погибших за власть Советов", 1919 г., расположенного по адресу: Алтайский край, Ребрихинский район, с. Усть-Мосиха, ул. Ленинская, 1а"
(Зарегистрирован 31.10.2023 № 1398)
Номер опубликования: 2201202311010011
Дата опубликования: 01.11.2023
Страница №3 из 6:
Увеличить