Официальное опубликование правовых актов
ОФИЦИАЛЬНОЕ ОПУБЛИКОВАНИЕ
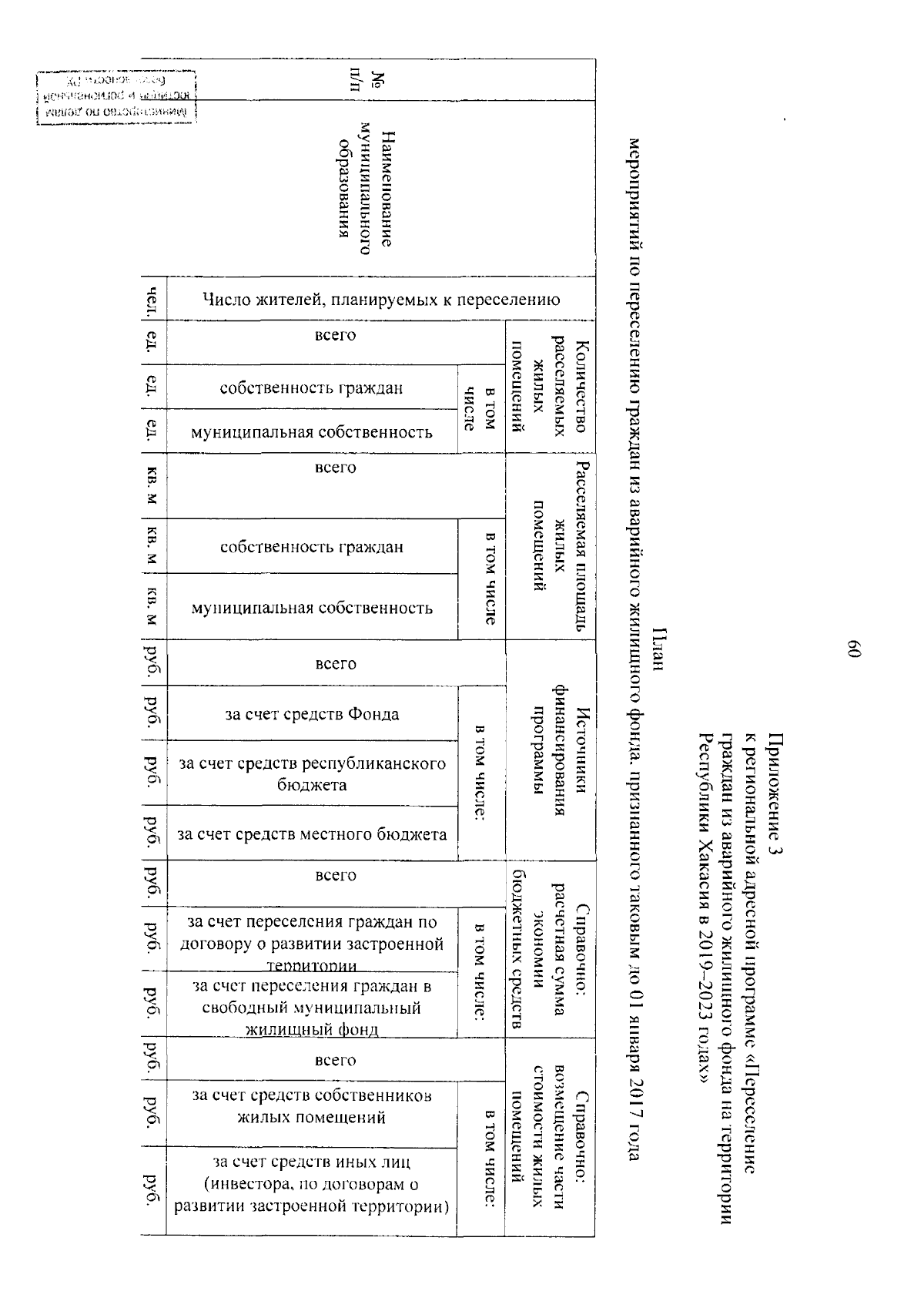
Постановление Правительства Республики Хакасия от 01.12.2023 № 928
"О внесении изменения в региональную адресную программу "Переселение граждан из аварийного жилищного фонда на территории Республики Хакасия в 2019–2023 годах", утвержденную постановлением Правительства Республики Хакасия от 28.03.2019 № 106"
Номер опубликования: 1900202312050005
Дата опубликования: 05.12.2023
Страница №60 из 71:
Увеличить