Приказ Комитета по охране и использованию объектов культурного наследия Республики Северная Осетия-Алания от 21.07.2025 № 177
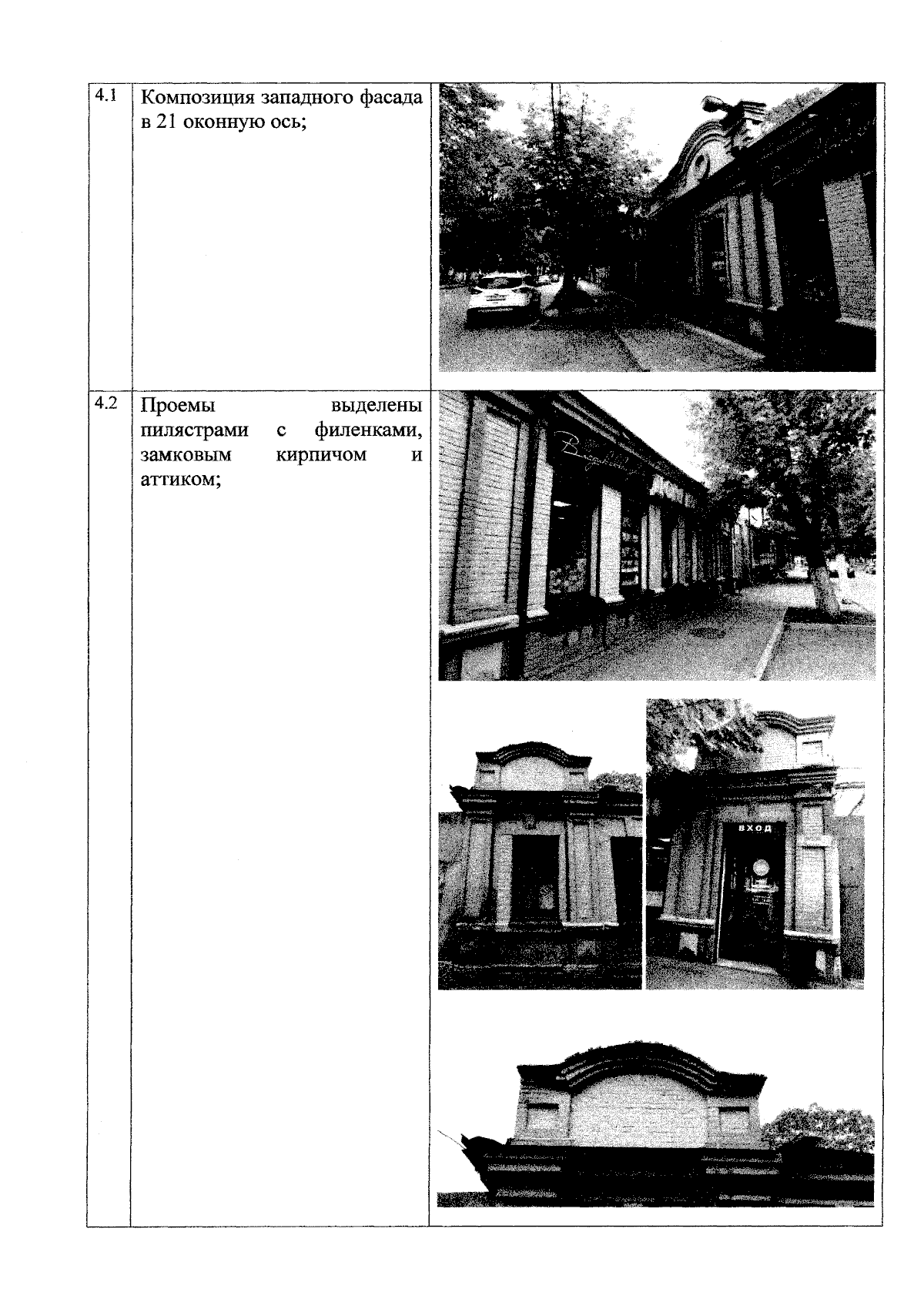
"Об утверждении предмета охраны объекта культурного наследия регионального значения "Редакция и типография газеты "Терские ведомости", расположенного по адресу: Республика Северная Осетия-Алания, г. Владикавказ, ул. Тамаева, 40, литер А"
(Зарегистрирован 25.07.2025 № 0136-25-2)
"Об утверждении предмета охраны объекта культурного наследия регионального значения "Редакция и типография газеты "Терские ведомости", расположенного по адресу: Республика Северная Осетия-Алания, г. Владикавказ, ул. Тамаева, 40, литер А"
(Зарегистрирован 25.07.2025 № 0136-25-2)
Номер опубликования: 1501202507310003
Дата опубликования:
31.07.2025
