Приказ Комитета по охране и использованию объектов культурного наследия Республики Северная Осетия-Алания от 17.07.2023 № 154
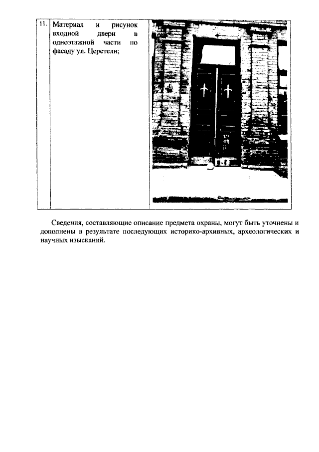
"Об утверждении предмета охраны объекта культурного наследия регионального значения "Владикавказское училище общества распространения грамотности среди грузин. Памятник истории и архитектуры. Литер А. 1888 г.", расположенного по адресу: Республика Северная Осетия-Алания, г. Владикавказ, ул. Церетели, 12"
(Зарегистрирован 20.07.2023 № 0228-23-2)
"Об утверждении предмета охраны объекта культурного наследия регионального значения "Владикавказское училище общества распространения грамотности среди грузин. Памятник истории и архитектуры. Литер А. 1888 г.", расположенного по адресу: Республика Северная Осетия-Алания, г. Владикавказ, ул. Церетели, 12"
(Зарегистрирован 20.07.2023 № 0228-23-2)
Номер опубликования: 1501202307210012
Дата опубликования:
21.07.2023
