Официальное опубликование правовых актов
ОФИЦИАЛЬНОЕ ОПУБЛИКОВАНИЕ
Приказ Комитета по охране и использованию объектов культурного наследия Республики Северная Осетия-Алания от 13.02.2023 № 37
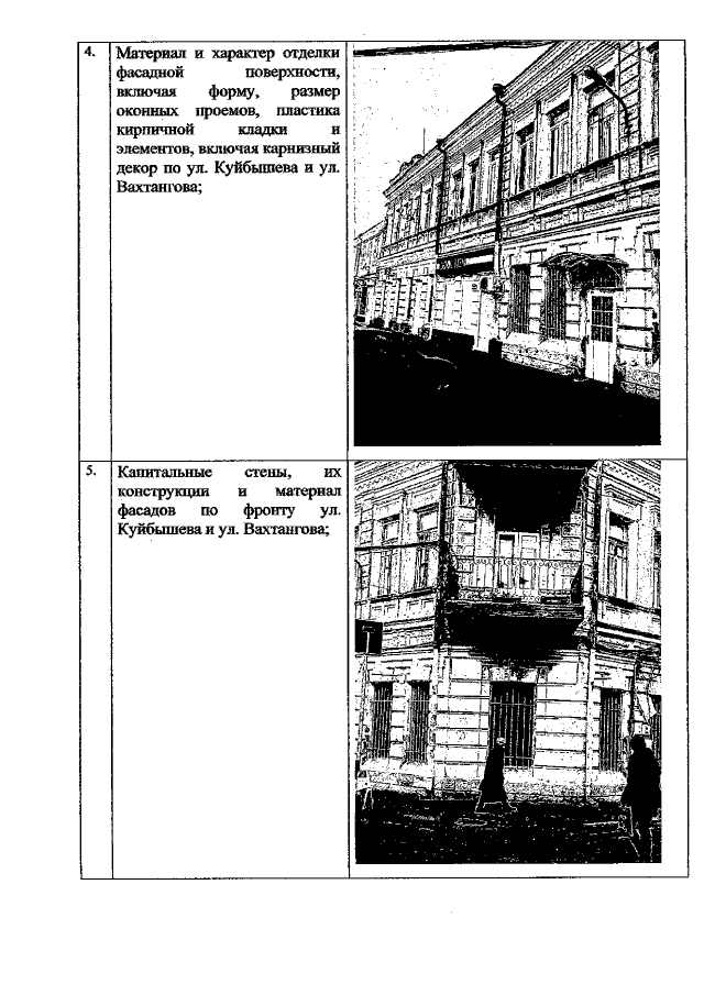
"Об утверждении предмета охраны объекта культурного наследия регионального значения "Доходный дом. Литер А, А-1", расположенного по адресу: Республика Северная Осетия-Алания, г. Владикавказ, ул. Куйбышева, 3 / ул. Вахтангова, 1"
(Зарегистрирован 16.02.2023 № 0050-23-2)
Номер опубликования: 1501202302160002
Дата опубликования: 16.02.2023
Страница №4 из 7:
Увеличить