Приказ Комитета по охране и использованию объектов культурного наследия Республики Северная Осетия-Алания от 27.07.2022 № 124
"Об утверждении предмета охраны объекта культурного наследия регионального значения "Доходный дом С.М.Киракозова. Памятник архитектуры, Литер А", расположенного по адресу: Республика Северная Осетия-Алания, г. Владикавказ, пр.Мира, 42 / ул.Джанаева, 19"
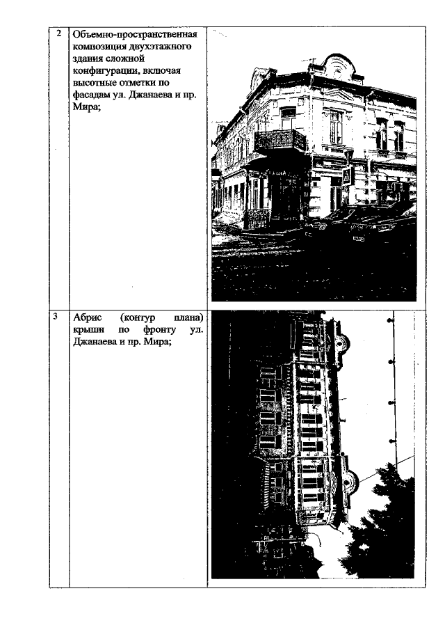
"Об утверждении предмета охраны объекта культурного наследия регионального значения "Доходный дом С.М.Киракозова. Памятник архитектуры, Литер А", расположенного по адресу: Республика Северная Осетия-Алания, г. Владикавказ, пр.Мира, 42 / ул.Джанаева, 19"
Номер опубликования: 1501202208010001
Дата опубликования:
01.08.2022
