Официальное опубликование правовых актов
ОФИЦИАЛЬНОЕ ОПУБЛИКОВАНИЕ
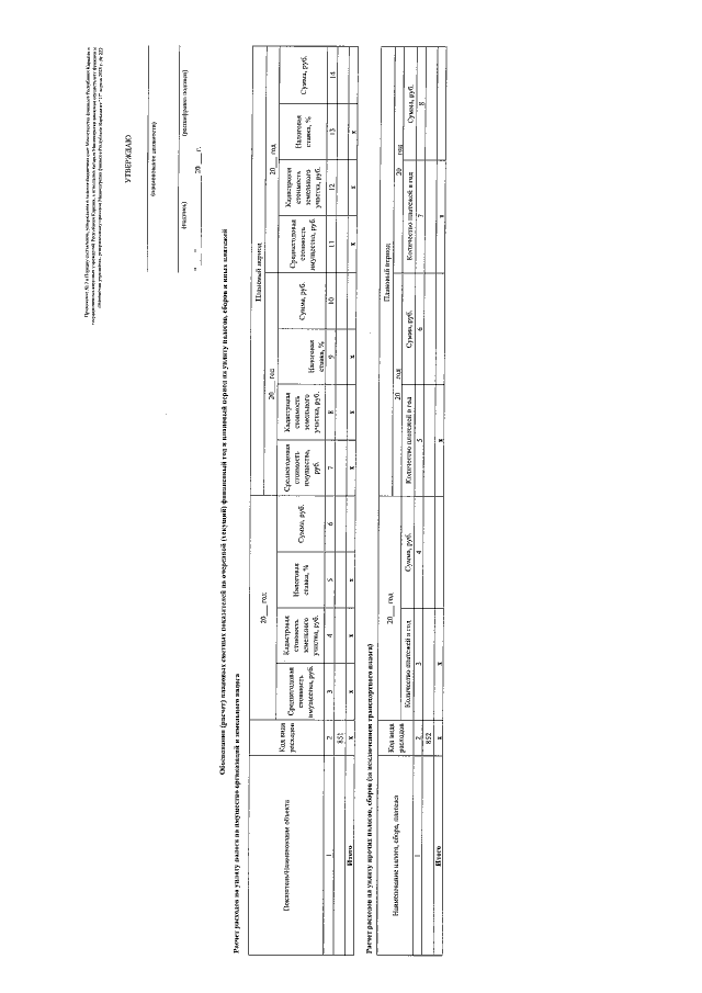
Приказ Министерства финансов Республики Карелия от 17.04.2023 № 222
"Об утверждении Порядка составления, утверждения и ведения бюджетных смет Министерства финансов Республики Карелия и государственных казенных учреждений Республики Карелия, находящихся в ведении Министерства финансов Республики Карелия"
(Зарегистрирован 19.04.2023 № 319)
Номер опубликования: 1001202304190003
Дата опубликования: 19.04.2023
Страница №26 из 52:
Увеличить