Официальное опубликование правовых актов
ОФИЦИАЛЬНОЕ ОПУБЛИКОВАНИЕ
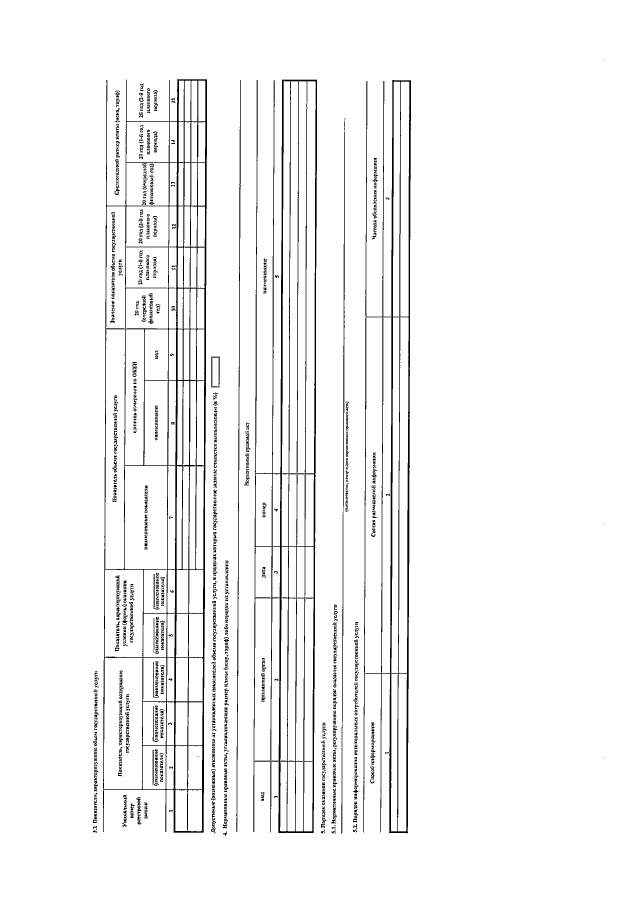
Постановление Правительства Республики Калмыкия от 22.09.2015 № 352
"О порядке формирования государственного задания на оказание государственных услуг (выполнение работ) в отношении государственных учреждений Республики Калмыкия и финансового обеспечения выполнения государственного задания"
Номер опубликования: 0800201509250009
Дата опубликования: 25.09.2015
Страница №15 из 19:
Увеличить