Официальное опубликование правовых актов
ОФИЦИАЛЬНОЕ ОПУБЛИКОВАНИЕ
Приказ Администрации Главы Республики Бурятия и Правительства Республики Бурятия от 11.03.2024 № 68окн
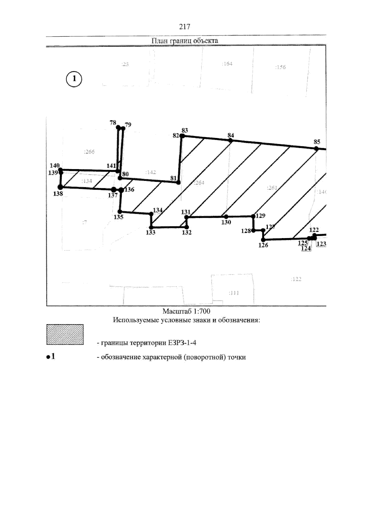
"О внесении изменений в приказ Республиканской службы государственной охраны объектов культурного наследия от 07.05.2009 № 24 "Об утверждении границ зон охраны объектов культурного наследия (памятников истории и культуры) регионального значения города Улан-Удэ, режимов использования земель и градостроительных регламентов в границах данных зон"
(Зарегистрирован 12.03.2024 № 032024076)
Номер опубликования: 0301202403140001
Дата опубликования: 14.03.2024
Страница №234 из 541:
Увеличить